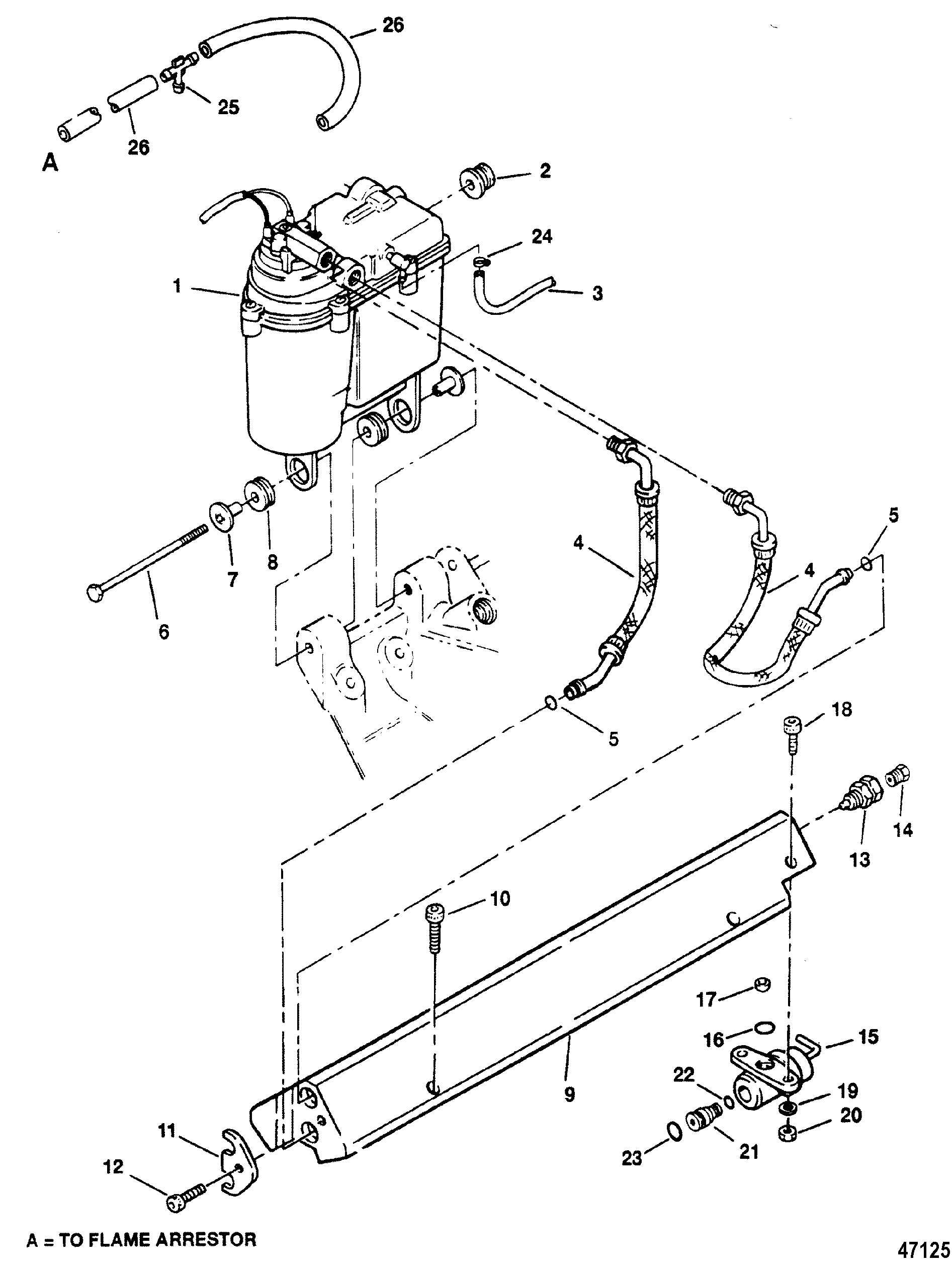
7.4LX MPI Bravo (Gen 5) GM 454 V-8 1996 - Serial 0F602010 Thru 0F801999 - Vapor Separator Tank And Fuel Rail
Other Sub-Sections:
- Alternator (Mando)
- Audio Warning System
- Crankshaft, Pistons And Conn. Rods
- Cylinder Block And Camshaft
- Cylinder Head And Rocker Cover
- Distributor And Ignition Components
- Electrical Box And Components
- Engine Mounting
- Exhaust Manifold And Exhaust Elbow
- Exhaust System
- Flywheel Housing
- Fuel Pump And Fuel Filter
- Intake Manifold And Intake Plenum
- Oil Filter And Adaptor
- Oil Pan And Oil Pump
- Power Steering Components
- Sea Water Pump
- Senders And Harness Bracket
- Shift Bracket
- Starter Motor (PG260)
- Starter Motor And Alternator
- Thermostat Housing (Standard Cooling)
- Vapor Separator Tank
- Vapor Separator Tank And Fuel Rail
- Water Pump And Front Cover
- Wiring Harness (EFI)
- Wiring Harness (Engine)
| Ref. | OEM Part # | Hardin # | Mallory # | GLM # | Other # | Description | Num Req. | Superceded From | Special Notes |
| 1 | 806787A3 | TANK ASSEMBLY | 1 | ||||||
| 2 | 808502 | L-JOINT KIT | 1 | This Part is no longer available | |||||
| 3 | 808506 | FLOAT KIT | 1 | ||||||
| 4 | 808507 | FLOAT VALVE KIT | 1 | ||||||
| 5 | 827655T | TOP COVER KIT | 1 | 827655 | |||||
| 6 | 808509 | DIAPHRAGM KIT | 1 | ||||||
| 7 | 808501 | PLUG KIT | 1 | This Part is no longer available | |||||
| 8 | 808505T01 | PUMP KIT | 1 | 808505 | |||||
| 9 | 808504T1 | STRAINER KIT, Fuel | 1 | 8085041 | No longer made, limited availability | ||||
| 10 | 808503 | CONNECTOR KIT, Electrical | 1 | ||||||
| 11 | 808500 | 700-40040 | O-RING KIT | 1 | |||||
| 12 | 808510 | HARNESS KIT | 1 | This Part is no longer available |


