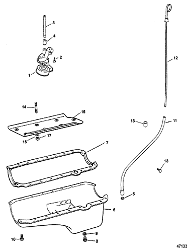
7.4LX MPI Bravo (Gen 5) GM 454 V-8 1996 - Serial 0F602010 Thru 0F801999 - Oil Pan And Oil Pump
Other Sub-Sections:
- Alternator (Mando)
- Audio Warning System
- Crankshaft, Pistons And Conn. Rods
- Cylinder Block And Camshaft
- Cylinder Head And Rocker Cover
- Distributor And Ignition Components
- Electrical Box And Components
- Engine Mounting
- Exhaust Manifold And Exhaust Elbow
- Exhaust System
- Flywheel Housing
- Fuel Pump And Fuel Filter
- Intake Manifold And Intake Plenum
- Oil Filter And Adaptor
- Oil Pan And Oil Pump
- Power Steering Components
- Sea Water Pump
- Senders And Harness Bracket
- Shift Bracket
- Starter Motor (PG260)
- Starter Motor And Alternator
- Thermostat Housing (Standard Cooling)
- Vapor Separator Tank
- Vapor Separator Tank And Fuel Rail
- Water Pump And Front Cover
- Wiring Harness (EFI)
- Wiring Harness (Engine)
Ref. | OEM Part # | Hardin # | Mallory # | GLM # | Other # | Description | Num Req. | Superceded From | Special Notes |
1 | 827643 | PUMP ASSEMBLY, Oil | 1 | ||||||
2 | 10-813071 | SCREW | 1 | No longer made, limited availability | |||||
3 | 14761 | SHAFT AND RETAINER | 1 | ||||||
4 | 23-36183 | RETAINER | 1 | ||||||
5 | 25-62704 | 676-9-43631 | 700-81090 | O-RING, (.362 x .103) | 1 | 3 | |||
6 | 845668T | PAN ASSEMBLY | 1 | 811549 | |||||
7 | 27-845628 | 676-9-61508 | GASKET | 1 | 27-811566 | 3 | |||
8 | 10-49956 | SCREW, Drain | 1 | ||||||
9 | 27-49955 | 676-9-60104 | 700-30370 | GASKET, Drain | 1 | 3 | |||
10 | 10-34500 | SCREW, (.312-18 x .625) | 20 | ||||||
11 | 818631A6 | TUBE ASSEMBLY, Dipstick | 1 | ||||||
12 | 861942T9 | DIPSTICK | 1 | 805567T | |||||
13 | 10-35366 | SCREW, (.250-20 x .563) | 1 | ||||||
14 | 16-811683 | STUD, (.375-16/.500-12 x 5.500) | 4 | ||||||
15 | 843945T | BAFFLE | 1 | 811682 | |||||
16 | 12-49112 | WASHER | 4 | This Part is no longer available | |||||
17 | 11-37500 | NUT, (3/8-16) | 4 | ||||||
18 | 19-818841 | PLUG, Oil Pan Dipstick Hole | 1 | ||||||
- | 27-805396A95 | GASKET SET | 1 |