| Ref. |
OEM Part # |
Hardin # |
Mallory # |
GLM # |
Other # |
Description |
Num Req. |
Superceded From |
Special Notes |
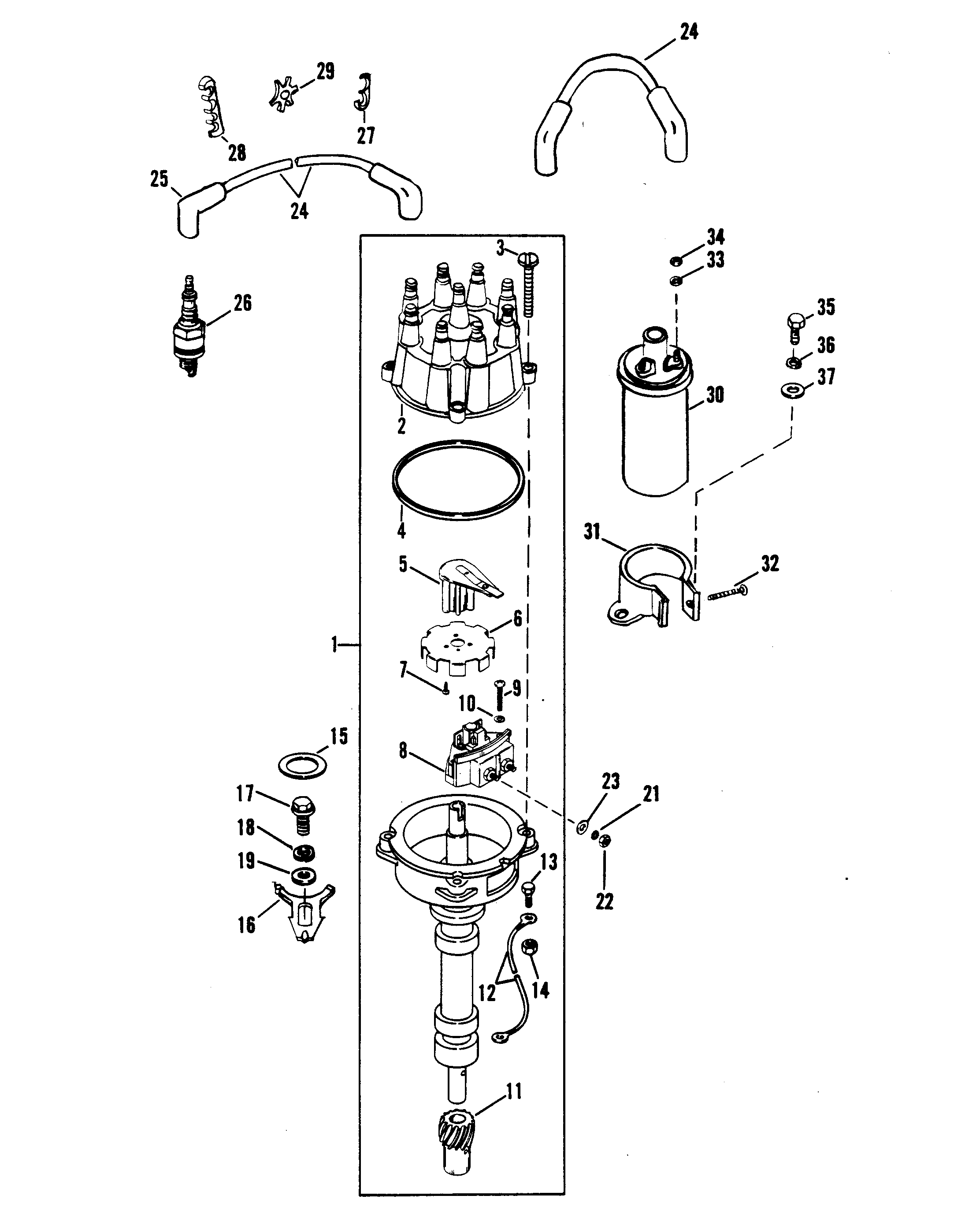
| 1 |
13497A3 |
|
|
|
|
DISTRIBUTOR ASSEMBLY |
1 |
|
This Part is No Longer Available |
| 2 |
805759T1 |
|
|
|
|
CAP, DISTRIBUTOR |
1 |
16457A4 |
|
| 3 |
10-90926 |
|
|
|
|
SCREW, DISTRIBUTOR CAP |
4 |
|
|
| 4 |
27-805760 |
|
|
|
|
GASKET, DISTRIBUTOR CAP |
1 |
27-98242 |
2 |
| 5 |
13524T1 |
|
|
|
|
ROTOR |
1 |
13524A3 |
|
| 6 |
13524A5 |
|
|
|
|
SENSOR WHEEL |
1 |
42862 |
|
| 7 |
10-11252 |
|
|
|
|
SCREW, SENSOR WHEEL |
3 |
|
|
| 8 |
87-892150Q02 |
|
|
|
|
SENSOR ASSEMBLY |
1 |
87-91019A3 |
|
| 9 |
10-66686 |
|
|
|
|
SCREW, SENSOR |
1 |
|
|
| 10 |
13-26996 |
|
|
|
|
LOCKWASHER, SENSOR SCREW |
3 |
|
|
| 11 |
43-818807 |
|
|
|
|
GEAR, DRIVE |
1 |
43-8137761 |
|
| 12 |
84-86322A17 |
|
|
|
|
CABLE ASSEMBLY (BLACK) |
1 |
|
This Part is No Longer Available |
| 13 |
10-72202 |
|
|
|
|
SCREW, CABLE |
1 |
|
|
| 14 |
11-68219 |
|
|
|
|
NUT, CABLE SCREW |
1 |
|
|
| 15 |
27-344863 |
|
|
|
|
GASKET, DISTRIBUTOR |
1 |
27-344861 |
2 |
| 16 |
52185 |
|
|
|
|
CLAMP, DISTRIBUTOR TO INTAKE MANIFOLD |
1 |
|
|
| 17 |
10-34353 |
|
|
|
|
SCREW, DISTRIBUTOR CLAMP (1") |
1 |
|
|
| 18 |
13-35048 |
|
|
|
|
LOCKWASHER, CLAMP SCREW |
1 |
|
|
| 19 |
12-20553 |
|
|
|
|
WASHER, CLAMP SCREW |
1 |
|
|
| 21 |
13-26996 |
|
|
|
|
LOCKWASHER, DISTRIBUTOR TERMINAL |
2 |
|
|
| 22 |
11-68219 |
|
|
|
|
NUT, DISTRIBUTOR TERMINAL (10-32) |
2 |
|
|
| 23 |
12-30164 |
|
|
|
|
WASHER, DISTRIBUTOR TERMINAL |
2 |
|
|
| 24 |
84-816608Q61 |
|
|
|
|
SPARK PLUG WIRE KIT |
1 |
84-813720A2 |
|
| 25 |
85-63709A1 |
|
|
|
|
BOOT ASSEMBLY, SPARK PLUG |
8 |
|
|
| 26 |
33-8134214 |
|
|
|
|
SPARK PLUG |
8 |
33-59660 |
|
| 27 |
54676 |
|
|
|
|
RETAINER, HIGH TENSION LEADS (2 WIRE) |
2 |
|
|
| 28 |
32783 |
|
|
|
|
RETAINER, HIGH TENSION LEADS (3 WIRE) |
2 |
|
|
| 29 |
32784 |
|
|
|
|
RETAINER, HIGH TENSION LEADS (4 WIRE) |
4 |
|
|
| 30 |
300-8M0079202 |
|
|
|
|
COIL, IGNITION |
1 |
392-7803A4 |
|
| 31 |
77294T |
|
|
|
|
BRACKET, IGNITION COIL |
1 |
77294 |
This Part is No Longer Available |
| 32 |
10-41408 |
|
|
|
|
SCREW, BRACKET (1-1/2") |
1 |
|
|
| 33 |
13-26996 |
|
|
|
|
LOCKWASHER, IGNITION COIL TERMINAL |
2 |
|
|
| 34 |
11-68219 |
|
|
|
|
NUT, IGNITION COIL TERMINAL (#10-32) |
2 |
|
|
| 35 |
10-86750 |
|
|
|
|
SCREW, IGNITION COIL (3/4") |
2 |
|
|
| 36 |
13-26993 |
|
|
|
|
LOCKWASHER, IGNITION COIL SCREW |
2 |
|
|
| 37 |
12-20084 |
|
|
|
|
WASHER, IGNITION COIL SCREW |
2 |
|
|