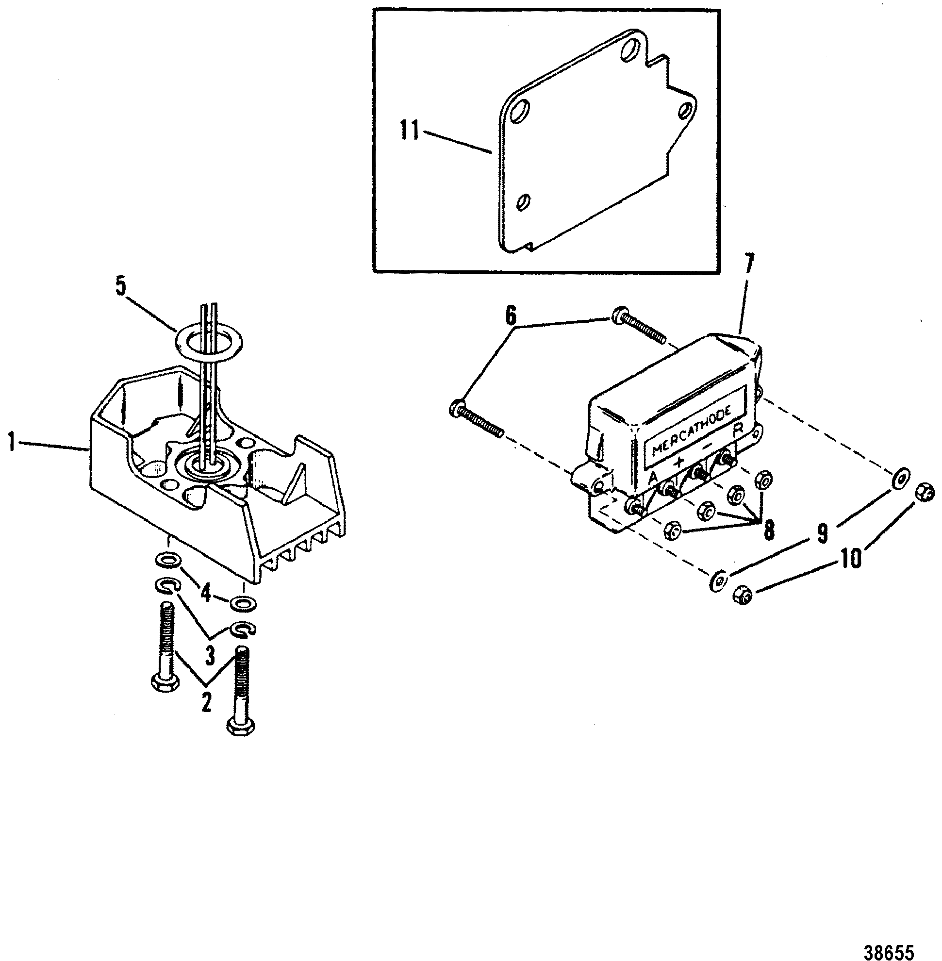
Bravo Three - Serial 0B664190 Thru 0F729999 - Mercathode Kit
Other Sub-Sections:
- Bell Housing
- Continuity Kit
- Drive Unit Chart
- Driveshaft Housing And Drive Gears
- Gear Housing (Bravo I)
- Gear Housing (Bravo II)
- Gear Housing (Bravo III)
- Gimbal Housing
- Gimbal Housing Cover
- Gimbal Ring And Steering Lever
- Hydraulic Pump
- Hydraulic Pump And Bracket
- Mercathode Kit
- Oil Reservoir Components (Round Oil Bottle)
- Oil Reservoir Components (Square Oil Bottle)
- Power Steering Components (Old Design)
- Power Trim Cylinder Repair Kits
- Transom Plate And Shift Cable
- Trim Cylinders And Hydraulic Hoses
- Universal Joint
Ref. | OEM Part # | Hardin # | Mallory # | GLM # | Other # | Description | Num Req. | Superceded From | Special Notes |
1 | 98869A17 | ELECTRODE ASSEMBLY | 1 | 98869A11 | |||||
2 | 10-69067 | SCREW, (.250-20 x 1.375) | 2 | ||||||
3 | 13-26992 | LOCKWASHER, (.250) Stainless Steel | 2 | ||||||
4 | 12-29245 | 700-21490 | WASHER, (.281 x .500 x .060) Stainless Steel | 2 | |||||
5 | 25-88388 | O-RING | 1 | (DESIGN 1) | |||||
5 | 25-805294 | GROMMET | 1 | ||||||
6 | 82202 | SCREW, (1.25 inch) | 1 | ||||||
6 | 10-45862 | SCREW, (#10-32 x .875) | 1 | ||||||
7 | 42600A09 | CONTROLLER ASSEMBLY | 1 | 42600A3 | |||||
8 | 11-68219 | NUT, (#10-32) Stainless Steel | 4 | ||||||
9 | 12-21273 | WASHER | 2 | ||||||
10 | 11-46438 | NUT, (#10-32) | 2 | ||||||
11 | 806138T | BRACKET | 1 | This Part is No Longer Available (USED ON MCM 7.3L DIESEL) |