| Ref. |
OEM Part # |
Hardin # |
Mallory # |
GLM # |
Other # |
Description |
Num Req. |
Superceded From |
Special Notes |
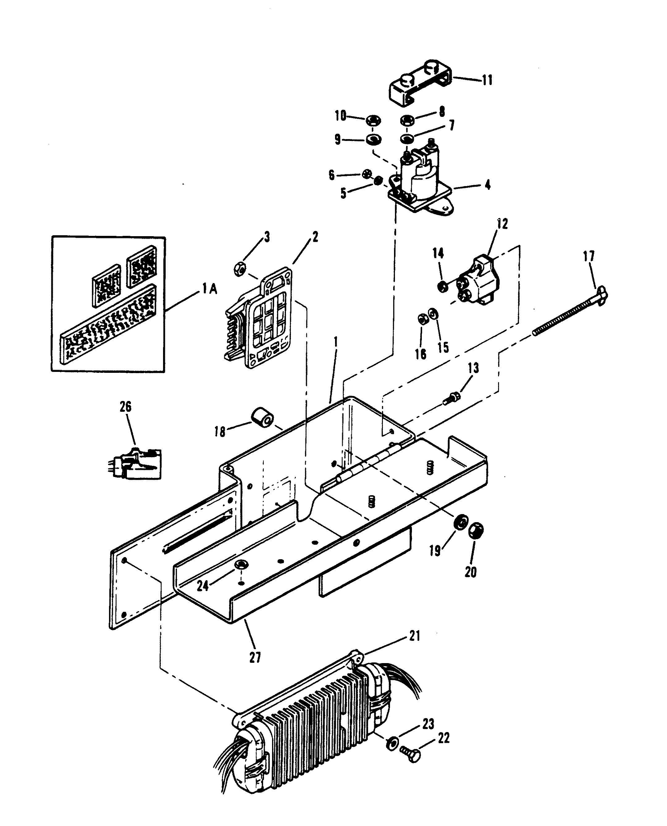
| 1 |
807323A5 |
|
|
|
|
ELECTRICAL BOX |
1 |
805439A9 |
|
| 1A |
806762A1 |
|
|
|
|
VELCRO KIT |
1 |
|
|
| 2 |
806611T |
|
|
|
|
KNOCK MODULE |
1 |
|
|
| 3 |
11-64015 |
|
|
|
|
NUT |
1 |
|
|
| 4 |
89-96054T |
|
|
|
|
STARTER SOLENOID |
1 |
89-96054 |
|
| 5 |
13-26995 |
|
|
|
|
LOCKWASHER (#8) |
2 |
|
|
| 6 |
11-26419 |
|
|
|
|
NUT (8-32) |
2 |
|
|
| 7 |
13-26992 |
|
|
|
|
LOCKWASHER (1/4") |
2 |
|
|
| 8 |
11-94330 |
|
|
|
|
NUT (1/4-20) |
2 |
|
|
| 9 |
12-35462 |
|
|
|
|
WASHER |
2 |
|
|
| 10 |
11-64015 |
|
|
|
|
NUT |
2 |
|
|
| 11 |
85-97861 |
|
|
|
|
INSULATOR |
1 |
|
|
| 12 |
88-11178A01 |
|
|
|
|
CIRCUIT BREAKER |
1 |
88-11178 |
This part is the replacement for 11178A01 however the mounting hole will need to be enlarged to make it work. |
| 13 |
10-45862 |
|
|
|
|
SCREW |
2 |
|
|
| 14 |
11-61356 |
|
|
|
|
NUT |
2 |
|
|
| 15 |
13-26996 |
|
|
|
|
LOCKWASHER |
2 |
|
|
| 16 |
11-68219 |
|
|
|
|
NUT |
2 |
|
|
| 17 |
805615A2 |
|
|
|
|
THUMB SCREW |
1 |
|
This Part is No Longer Available |
| 18 |
23-806981 |
|
|
|
|
SPACER |
3 |
|
|
| 19 |
12-35462 |
|
|
|
|
WASHER |
3 |
|
|
| 20 |
11-64015 |
|
|
|
|
NUT |
3 |
|
|
| 21 |
806818T2 |
|
|
|
|
ELECTRONIC CONTROL MODULE |
1 |
806818T1 |
|
| 22 |
10-54615 |
|
|
|
|
SCREW |
4 |
|
|
| 23 |
12-20533 |
|
|
|
|
WASHER |
4 |
|
|
| 26 |
88-804642 |
|
|
|
|
SPARE FUSE (15 AMP) |
1 |
805704 |
No longer made, limited availability |
| 26 |
88-804641 |
|
|
|
|
SPARE FUSE (10 AMP) |
1 |
805703 |
|
| 27 |
805439T3 |
|
|
|
|
ELECTRICAL COVER |
1 |
|
|