465 GM 502 1990-1992 - Serial 0C849992 Thru 0F213244 - Sea Water Pump (C849992-D725646)
Other Sub-Sections:
- Alternator (Mando AC - 155603) (D763732,F213244)
- Alternator (Mando AR-150) (C849992 - D763731)
- Audio Warning System
- Carburetor And Linkage
- Crankshaft, Pistons And Conn. Rods
- Cylinder Block And Camshaft
- Cylinder Head And Rocker Cover
- Distributor And Ignition Components
- Driveshaft And Tailstock
- Driveshaft Extension Components (Bravo)
- Electrical Components (C849992-D763731)
- Electrical Components (D763732-F213244)
- Exhaust Manifold - Elbow
- Exhaust Plate
- Flywheel Housing (Bravo Driveshaft Models)
- Flywheel Housing (Bravo Plug - In Models)
- Flywheel Housing (Transmission Models)
- Fuel Pump And Fuel Filter (C849992-D456154)
- Fuel Pump And Fuel Filter (D456155-F213244)
- Intake Manifold And Front Cover
- Miscellaneous Parts - Accessories
- Mount Plates (Single)
- Mount Plates (Staggered)
- Oil Cooler, Oil Filter And Adaptor
- Oil Pan And Oil Pump (C849992-D725646)
- Oil Pan And Oil Pump (D725647-F213244)
- Power Steering Components
- Sea Water Pump (C849992-D725646)
- Sea Water Pump (D725647-F213244)
- Shift Bracket
- Shift Linkage
- Starter And Alternator
- Starter Assembly
- Starter Assembly (Transmission And Driveline Models)
- Thermostat Housing
- Transmission (Driveline)
- Transmission And Tailstock
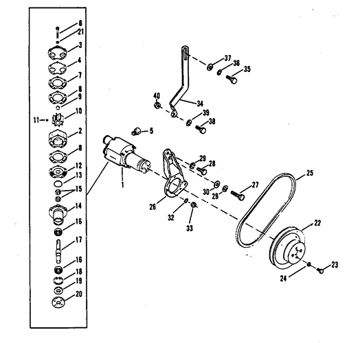
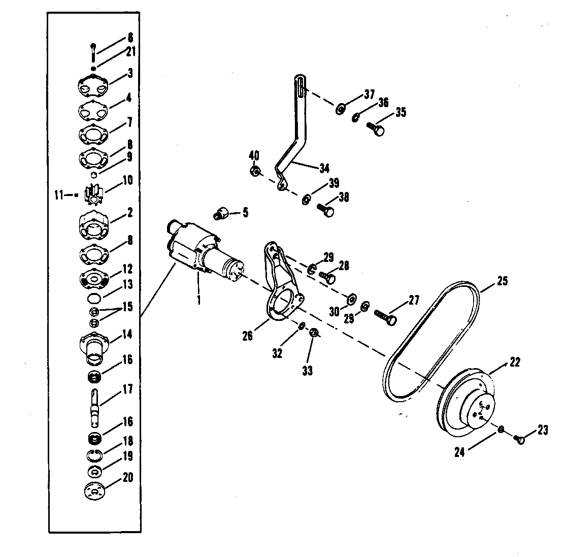
| Ref. | OEM Part # | Hardin # | Mallory # | GLM # | Other # | Description | Num Req. | Superceded From | Special Notes |
| 1 | 46-807151A12 | 625-4110 | 700-12093 | 525-46-807151A12 | PUMP ASSEMBLY-Water | 1 | 46-72774A50 | ||
| 2 | 46-72774A40 | BODY-Water Pump | 1 | This Part is No Longer Available | |||||
| 3 | 87631A4 | COVER ASSEMBLY-Water Pump | 1 | ||||||
| 4 | 27-8052151 | GASKET-Cover to Outer Wear Plate | 1 | ||||||
| 5 | 22-328022 | PLUG-Pipe (FOR WATER PUMP BODY) | 1 | 22-32802 | |||||
| 6 | 10-73275 | SCREW (5/16-18 x 2-7/8")-Water Pump | 2 | ||||||
| 6 | 10-99347 | SCREW (5/16-18 x 3-3/4")-Water Pump | 3 | ||||||
| 7 | 94916 | WEAR PLATE-Outer | 1 | ||||||
| 8 | 27-94914 | GASKET-Body to Wear Plate | 2 | ||||||
| 9 | 19-59504 | PLUG-Impeller | 1 | ||||||
| 10 | 47-59362T1 | 625-4011 | 676-9-45375 | 700-89740 | IMPELLER (USE WITHOUT KEY) | 1 | 47-593621 | ||
| 11 | 8M0032837 | KEY-Impeller Drive | 1 | 28-56662 | |||||
| 12 | 94576 | WEAR PLATE-Inner | 1 | ||||||
| 13 | 25-94288 | QUAD RING-Pump Housing | 1 | ||||||
| 14 | 46-94913A2 | HOUSING ASSEMBLY-Water Pump | 1 | ||||||
| 15 | 26-90562 | 676-9-76107 | 700-85080 | SEAL,-Oil-Water Pump Shaft | 2 | ||||
| 16 | 30-72961 | BEARING-Ball-Water Pump Shaft | 2 | ||||||
| 17 | 59501A1 | SHAFT-Water Pump | 1 | ||||||
| 18 | 53-23720 | RING-Retaining-Ball Bearing | 1 | ||||||
| 19 | 26-72785 | SEAL-Oil-Water Pump Shaft | 1 | ||||||
| 20 | 47530 | HUB-Water Pump Pulley | 1 | ||||||
| 21 | 12-20084 | WASHER-Cover Screw | 5 | ||||||
| 22 | 52822T | PULLEY-Water Pump (CAST) | 1 | ||||||
| 23 | 10-47277 | SCREW (5/16-24 x 3/4")-Pulley | 4 | ||||||
| 24 | 13-39107 | 700-21496 | LOCKWASHER (5/16")-Pulley Screw | 4 | |||||
| 25 | 57-13457Q | V BELT (30")-Water Pump | 1 | 57-13457T | |||||
| 26 | 15295T | BRACKET-Water Pump (STAMPED) | 1 | ||||||
| 27 | 10-47461 | SCREW (7/16-14 x 1")-Water Pump Bracket | 1 | ||||||
| 28 | 10-17965 | SCREW (7/16-14 x 45/64")-Water Pump Bracket | 1 | ||||||
| 29 | 13-32993 | LOCKWASHER (7/16")-Bracket Screw | 1 | ||||||
| 30 | 12-27025 | WASHER-Bracket Screw | 1 | ||||||
| 32 | 13-39107 | 700-21496 | LOCKWASHER (5/16") | 3 | |||||
| 33 | 11-21908 | NUT (5/16-18) | 3 | ||||||
| 34 | 15751T | BRACE-Water Pump | 1 | ||||||
| 35 | 10-47461 | SCREW (7/16-14 x 1")-Brace to Engine | 1 | ||||||
| 36 | 13-32993 | LOCKWASHER (7/16")-Brace Screw | 1 | ||||||
| 37 | 12-27025 | WASHER-Brace Screw | 1 | ||||||
| 38 | 10-35786 | SCREW (3/8-24 x 1")-Water Pump Brace | 1 | ||||||
| 39 | 13-35048 | LOCKWASHER (3/8")-Brace Screw | 1 | ||||||
| 40 | 11-46335 | NUT (3/8-24)-Brace Screw | 1 |


