| Ref. |
OEM Part # |
Hardin # |
Mallory # |
GLM # |
Other # |
Description |
Num Req. |
Superceded From |
Special Notes |
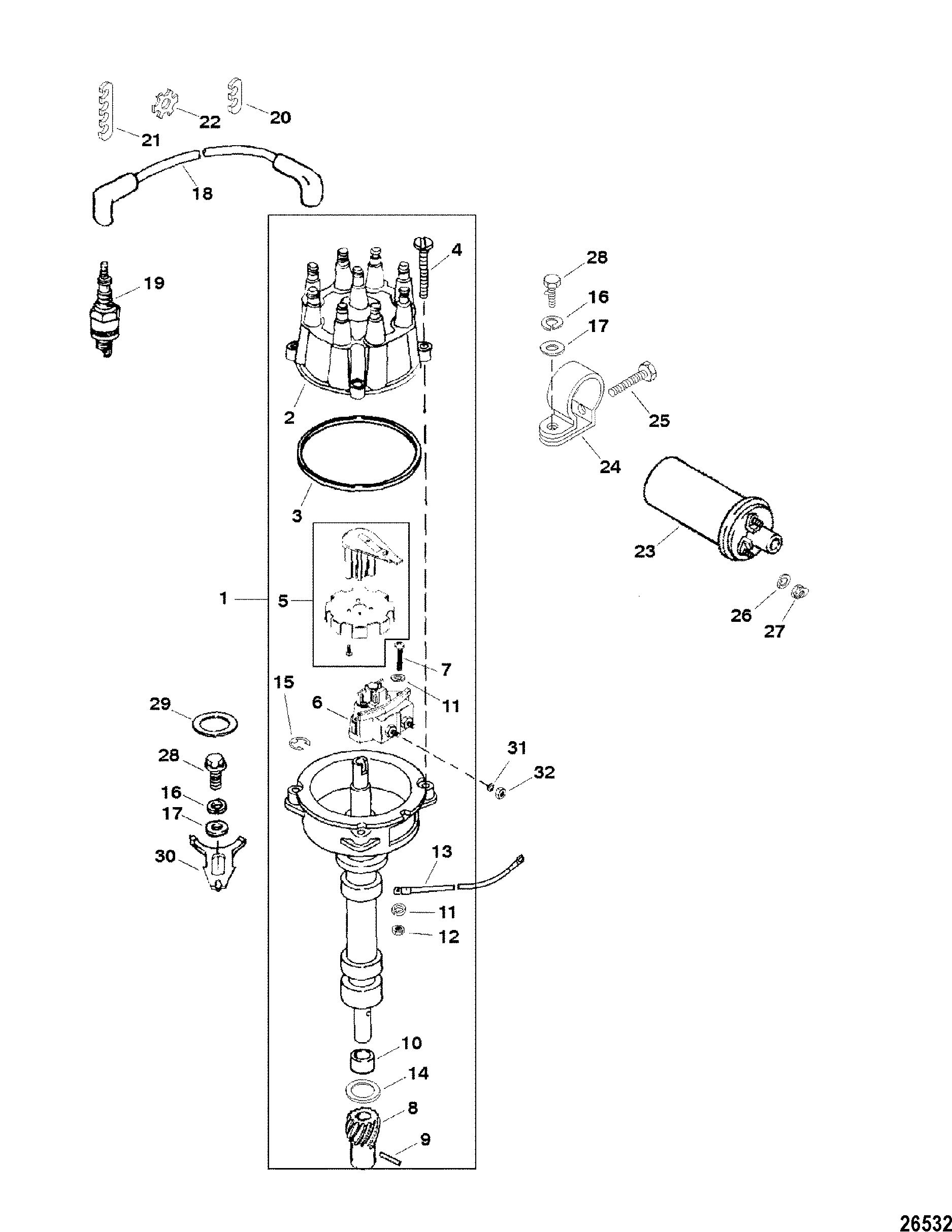
| 1 |
805185A36 |
|
|
|
|
DISTRIBUTOR ASSEMBLY |
1 |
90747A27 |
|
| 2 |
805759T1 |
|
|
|
|
CAP ASSEMBLY |
1 |
805759A2 |
|
| 3 |
27-805760 |
|
|
|
|
GASKET, Distributor Cap |
1 |
|
|
| 4 |
10-90926 |
|
|
|
|
SCREW, (#10-32 x .810) |
4 |
|
|
| 5 |
13524T1 |
|
|
|
|
WHEEL ASSEMBLY, Rotor Sensor |
1 |
13524A1 |
|
| 6 |
87-892150Q02 |
|
|
|
|
SENSOR ASSEMBLY |
1 |
87-91019A3 |
|
| 7 |
10-66686 |
|
|
|
|
SCREW, (#10-32 x 1.00) |
1 |
|
|
| 7 |
10-72202 |
|
|
|
|
SCREW, (#10-32 x 1.25) |
1 |
|
|
| 8 |
43-818807 |
|
|
|
|
GEAR, Drive |
1 |
|
|
| 9 |
17-47617 |
|
|
|
|
PIN, Roll |
1 |
|
|
| 10 |
23-90915 |
|
|
|
|
BUSHING |
2 |
|
|
| 11 |
13-26996 |
|
|
|
|
LOCKWASHER, (#10) |
3 |
|
|
| 12 |
11-68219 |
|
|
|
|
NUT, (#10-32) |
1 |
|
|
| 13 |
84-86322A17 |
|
|
|
|
CABLE ASSEMBLY, Black - Ground |
1 |
|
This Part is No Longer Available |
| 14 |
12-90931 |
|
|
|
|
WASHER, Thrust |
1 |
|
|
| 15 |
53-90916 |
|
|
|
|
RING, Retaining |
1 |
|
|
| 16 |
13-35048 |
|
|
|
|
LOCKWASHER, (.375) |
2 |
|
|
| 17 |
12-20553 |
|
|
|
|
WASHER, (.406 x .734 x .063) |
2 |
|
|
| 18 |
84-847701Q7 |
|
|
|
|
CABLE KIT, Blue - Ignition - Spark Plugs And Coil |
1 |
84-847701A7 |
|
| 19 |
33-898264001 |
|
|
|
|
SPARK PLUG |
8 |
33-59571 |
|
| 20 |
54676 |
|
|
|
|
RETAINER, Two Wire |
2 |
|
|
| 21 |
32783 |
|
|
|
|
RETAINER, Three Wire |
2 |
|
|
| 22 |
32784 |
|
|
|
|
RETAINER, Four Wire |
4 |
|
|
| 23 |
300-8M0079202 |
|
|
|
|
COIL KIT, Ignition |
1 |
392-805570A2 |
|
| 24 |
65970T1 |
|
|
|
|
BRACKET, Coil Mount - On Electrical Bracket |
1 |
|
|
| 25 |
10-41408 |
|
|
|
|
SCREW, (#10-32 x 1.50) |
1 |
|
|
| 26 |
13-26996 |
|
|
|
|
LOCKWASHER, (#10) |
2 |
|
|
| 27 |
11-68219 |
|
|
|
|
NUT, (#10-32) |
2 |
|
|
| 28 |
10-76926 |
|
|
|
|
SCREW, (.375-16 x .875) |
2 |
|
|
| 29 |
27-344863 |
|
|
|
|
GASKET |
1 |
|
|
| 30 |
52185 |
|
|
|
|
CLAMP |
1 |
|
|
| 31 |
13-26996 |
|
|
|
|
LOCKWASHER, (#10) |
2 |
|
|
| 32 |
11-68219 |
|
|
|
|
NUT, (#10-32) |
2 |
|
|
| - |
27-99386A96 |
|
|
|
|
GASKET SET, Engine Overhaul |
1 |
|
|