454 Mag Bravo (Gen 5) GM V-8 1995-1996 - Serial 0F305000 Thru 0F801699 - Engine Mounting
Other Sub-Sections:
- Alternator (Mando)
- Audio Warning System
- Carburetor And Linkage
- Crankshaft, Pistons, And Connecting Rods
- Cylinder Block And Camshaft
- Cylinder Head And Rocker Cover
- Distributor And Ignition Components
- Engine Mounting
- Exhaust Manifold And Exhaust Elbow
- Exhaust Plate
- Flame Arrestor
- Flywheel Housing
- Fuel Pump And Fuel Filter
- Intake Manifold And Front Cover
- Miscellaneous Parts and Accessories
- Oil Filter And Adaptor
- Oil Pan And Oil Pump
- Power Steering Components
- Sea Water Pump
- Shift Bracket
- Starter And Alternator
- Starter Motor (2 - 7-8" Diameter End Cap)
- Thermostat Housing (Standard Cooling)
- Weber Carburetor
- Wiring Harness And Electrical Components
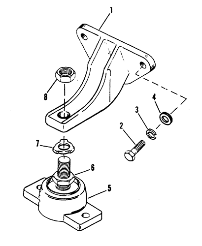
| Ref. | OEM Part # | Hardin # | Mallory # | GLM # | Other # | Description | Num Req. | Superceded From | Special Notes |
| 1 | 79550A1 | BRACKET (FRONT) | 2 | ||||||
| 2 | 10-68101 | SCREW (1-3/8") | 1 | PORT | |||||
| 2 | 10-48424 | SCREW (2") | 1 | PORT | |||||
| 3 | 13-35048 | LOCKWASHER | 3 | PORT | |||||
| 4 | 12-46132 | WASHER | 2 | PORT | |||||
| 2 | 10-68101 | SCREW | 3 | STARBOARD | |||||
| 3 | 13-35048 | LOCKWASHER | 3 | STARBOARD | |||||
| 5 | 814263A1 | BASE ASSEMBLY | 2 | ||||||
| 6 | 11-816331 | NUT | 2 | ||||||
| 7 | 14-12657 | TAB WASHER | 2 | ||||||
| 8 | 11-859126 | NUT | 2 | 11-49252 |


