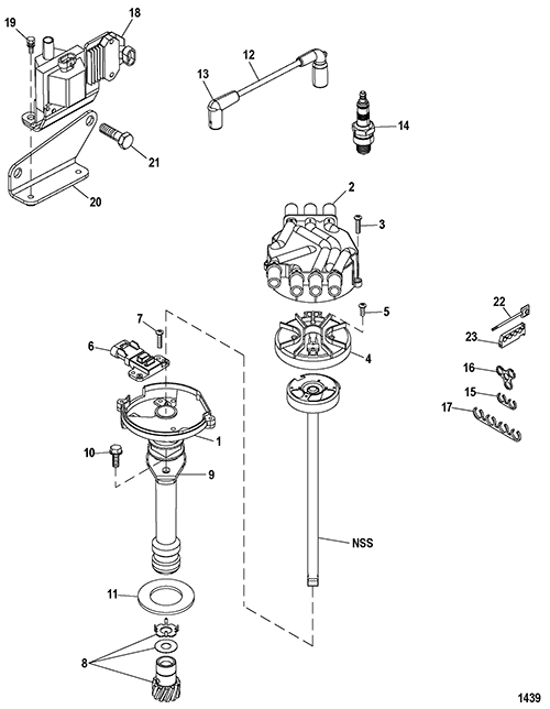
4.3L MPI ALPHA-BRAVO - 1A030368 THRU 1A030369 - Distributor and Ignition Components
Other Sub-Sections:
- Alternator and Brackets
- Closed Cooling System
- Closed Cooling System (BRAVO) Sea Pump Hoses
- Closed Cooling System (BRAVO) Sea Pump Hoses (SeaCore)
- Cylinder Block Camshaft Crankshaft and Balanceshaft
- Cylinder Head and Rocker Cover
- Distributor and Ignition Components
- Electrical Components
- Engine Mounts
- Exhaust Manifold and Elbow
- Exhaust Risers
- Exhaust System
- Flywheel Coupler and Flywheel Housing
- Front Cover and Circulating Pump
- Fuel Filter
- Fuel Pump And Fuel Cooler
- Gasket Set Components (27-807756A02) Engine Overhaul
- Gear Lube Monitor
- Intake Manifold and Fuel Rail
- Jackshaft Main Kit (98634A20)
- Maintenance Kits
- Mercathode Components
- Oil Pan Oil Pump and Rear Oil Seal
- Pistons and Connecting Rods
- Remote Oil Filter
- Sea Water Pump Assembly
- Service and Support Material
- Shift Bracket Alpha
- Shift Bracket Bravo
- Standard Cooling System Seven Point Drain
- Standard Cooling System Single and Three Point Drain
- Starter Motor
- Steering Components
- Thermostat and Housing 7 Point Drain
- Thermostat and Housing Single and 3 Point Drain
- Throttle Body
- Water Distribution Housing
- Water Drain Air Manifold and Pump
| Ref # | Part Class | Part Number | Description | Comments | Qty | Note |
|---|---|---|---|---|---|---|
| 1 | 0000 | OEM: 525-888751A03, Sierra: 676-18-5350 | DISTRIBUTOR ASSEMBLY | 1 | ||
| 2 | 0000 | OEM: 530-898253T23, Sierra: 676-18-5243, GLM: 700-71650 | CAP Distributor | 1 | [1] | |
| 3 | 0010 | OEM: 525-10-884786 | SCREW | 2 | ||
| 4 | 0000 | 898253013 | ROTOR | 1 | [2] | |
| 5 | 0010 | OEM: 525-10-884788 | SCREW | 2 | ||
| 6 | 0000 | OEM: 525-898141 | SENSOR Hall Effect | 1 | ||
| 7 | 0010 | OEM: 525-10-884788 | SCREW | 2 | ||
| 8 | 0043 | OEM: 525-43-884789 | GEAR ASSEMBLY | 1 | ||
| 9 | 0000 | OEM: 525-52185 | CLAMP | 1 | ||
| 10 | 0010 | OEM: 525-10-11976 | SCREW (.375-16 x 1.00) | 1 | ||
| 11 | 0027 | OEM: 525-27-344863, Sierra: 676-18-0874 | GASKET | 1 | [3] | |
| 12 | 0084 | OEM: 530-863656A2, Sierra: 676-18-8829-1 | CABLE KIT Ignition (Plug and Coil Wires) | |||
| 13 | 0084 | OEM: 525-84-863657A1 | CABLE ASSEMBLY Coil Wire | 1 | ||
| 14 | 0033 | 884019001 | SPARK PLUG (AC 41-993) | 6 | ||
| 15 | 0000 | OEM: 525-54676 | RETAINER Two Wire | 2 | ||
| 16 | 0000 | OEM: 525-32783 | RETAINER Three Wire | 2 | ||
| 17 | 0000 | OEM: 525-32784 | RETAINER Four Wire | 2 | ||
| 18 | 392 | 863704T | COIL Ignition | 1 | ||
| 19 | 0010 | OEM: 525-10-657461 | SCREW AND LOCKWASHER (.250- 20 x .625) | 2 | ||
| 20 | 0000 | OEM: 525-863663T | BRACKET Coil | 1 | ||
| 21 | 0010 | OEM: 525-10-98261 | SCREW (.375-16 x .750) | 2 | ||
| 22 | 0016 | OEM: 525-16-90096A1 | STUD ASSEMBLY (#10-32 x Special) | 2 | ||
| 23 | 0054 | OEM: 525-54-72821 | RETAINER | 2 |
PART NOTES:
[1] - Alternate part numbers:
898253T23Service Part
898253T28Kit
[2] - Alternate part numbers:
898253013QS
8M0061335Kit
[3] - Component of Engine Overhaul Gasket Set 807756A01
Component of Long Block Assembly- 864256A 2


