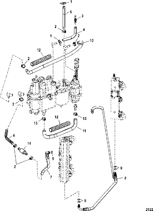
200XS DFI 2.5L - Serial 1E000797 Thru 1E002110 - Fuel Hoses
Other Sub-Sections:
- Air Compressor Components
- Air Handler Components
- Air Handler/Flywheel Cover
- Air Hoses(S/N 1E050628 & Below)
- Air Hoses(SN 1E050629 & Above)
- Bottom Cowl
- Coil Plate Assembly
- Crankshaft, Pistons and Connecting Rods
- Cylinder Block and End Caps
- Cylinder Head
- Driveshaft Housing
- Dual Cable Attaching Kit
- Electrical Plate Assembly
- Exhaust Plate
- Flywheel/Alternator
- Fuel Hoses
- Fuel Pump
- Fuel Rails
- Gasket Set Components, Complete Powerhead and Lower Unit
- Gear Housing(Drive) Standard/Counter Rotatation-Sportmaster
- Gear Housing(Driveshaft-Torque Master)
- Gear Housing, Propeller Shaft - Torque Master
- Gear Housing, Propeller Shaft-Counter-Sportmaster
- Gear Housing, Propeller Shaft-Standard-Sportmaster
- Key Switch/Instrumentation/Accessories
- Oil Injection Components
- Oil Lines
- Power Trim Components
- Starter Motor
- Swivel Bracket(Long)
- Swivel Bracket(Short)
- Throttle Lever and Shift Shaft
- Top Cowl
- Transom Brackets(Long)
- Transom Brackets(Short)
- Trim Pump and Mounting Brackets
- Vapor Separator Components
- Water Hoses
| Ref. | OEM Part # | Hardin # | Mallory # | GLM # | Other # | Description | Num Req. | Superceded From | Special Notes |
| 1 | 54-816311T | TIE STRAP, (8.00 Inches) | AR | ||||||
| 2 | 54-856880 | CLAMP, Hose (15.3) | AR | ||||||
| 3 | 22-858955 | CONNECTOR | 1 | ||||||
| 4 | 32-8M0108355 | HOSE, (57.00 Inches Bulk) (Cut to 7-1/2 Inches) | 1 | 830756109 | |||||
| 5 | 32-8M0064784 | TUBING, To Fuel Pump | 1 | 856822A1 | |||||
| 6 | 32-8M0062344 | HOSE ASSEMBLY, (25.50 Inches) | 1 | 858757A1 | |||||
| 7 | 32-8M6001914 | HOSE, Fuel Return | 1 | No Longer Available | |||||
| 8 | 32-8M6001755 | HOSE, (14.00 Inches), Fuel Balance | 1 | No Longer Available | |||||
| 9 | 25-804840 | O-RING KIT | 1 | ||||||
| 10 | 32-8M0064634 | HOSE | 1 | 85677870 | |||||
| 11 | 32-8M0064635 | HOSE | 1 | 85677887 | |||||
| 12 | 23-85686953 | SLEEVE, (27.00 Inches Bulk) | 2 | No Longer Available | |||||
| 13 | 54-13791 | 676-9-35604 | CLAMP, (15.7) | 2 | |||||
| 14 | 21-8557611 | CHECK VALVE | 1 |


