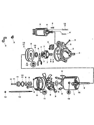
800 SC (Gen 4-5) GM 572 V8 1991-1996 - Serial 0D763836 and Up - Starter Assembly (50-808011A1)
Other Sub-Sections:
- Alternator (Mando AC-155603)
- Audio Warning System
- Carburetor And Linkage (Page 1 0F 2)
- Carburetor And Linkage (Page 2 0F 2)
- Crankshaft, Pistons And Connecting Rods
- Cylinder Block And Camshaft
- Cylinder Head And Rocker Cover (0F348742 And Below)
- Cylinder Head And Rocker Cover (0F615830 And Up)
- Distributor And Ignition Components
- Driveshaft And Tailstock (Driveline)
- Electrical Components (0D763836 Thru 0F877725)
- Electrical Components (0K000223 And Up)
- Exhaust Manifold Assembly
- Flywheel Housing (Transmission Models)
- Fuel Pump Assembly
- Intake Manifold And Front Cover
- Mount Plates-Engine
- Oil Cooler (Transmission)
- Oil Cooler, Filter And Adaptor (0F348742 And Down)
- Oil Cooler, Filter And Adaptor (0F615830 And Up)
- Oil Pan And Oil Pump
- Power Steering Components
- Reservoir Bottle (Transmission Fluid)
- Sea Water Pump Assembly
- Starter And Alternator
- Starter Assembly (50-17251A3)
- Starter Assembly (50-808011A1)
- Supercharger
- Thermostat Housing And Water Hoses
- Transmission And Components - VI Drive (Bravo) (Pg 1 0F 2)
- Transmission And Components - VI Drive (Bravo) (Pg 2 0F 2)
- Transmission And Components (Driveline)
- Transmission Components (Plug In) (Page 1 0F 2)
- Transmission Components (Plug In) (Page 2 0F 2)
| Ref. | OEM Part # | Hardin # | Mallory # | GLM # | Other # | Description | Num Req. | Superceded From | Special Notes |
| 1 | 50-808011A05 | STARTER ASSEMBLY | 1 | 50-808011A1 | (DRIVELINE MODELS) | ||||
| 2 | 850401 | DRIVE HOUSING | 1 | This Part is No Longer Available | |||||
| 3 | 89-850408 | SOLENOID SWITCH | 1 | ||||||
| 4 | NSS | NOT SOLD SEPARATE, PLUNGER KIT | 1 | This Part is not sold seperately 7 | |||||
| 5 | NSS | NOT SOLD SEPARATE, SHIFT LEVER KIT | 1 | This Part is not sold seperately 7 | |||||
| 6 | NSS | NOT SOLD SEPARATE, CENTER BEARING KIT | 1 | This Part is not sold seperately 7 | |||||
| 7 | 850402 | DRIVE KIT | 1 | This Part is No Longer Available | |||||
| 8 | NSS | NOT SOLD SEPARATE, ARMATURE KIT | 1 | This Part is not sold seperately 7 | |||||
| 9 | 850404 | HOLDER KIT-Brush | 1 | This Part is No Longer Available | |||||
| 10 | NSS | NOT SOLD SEPARATE, FIELD COIL | 1 | This Part is not sold seperately 7 | |||||
| 11 | NSS | NOT SOLD SEPARATE, CE FRAME KIT | 1 | This Part is not sold seperately 7 | |||||
| 12 | 10-850407 | THRU BOLT | 2 | This Part is No Longer Available | |||||
| 13 | NSS | NOT SOLD SEPARATE, SEALING PACKAGE KIT | 1 | This Part is not sold seperately 7 |


