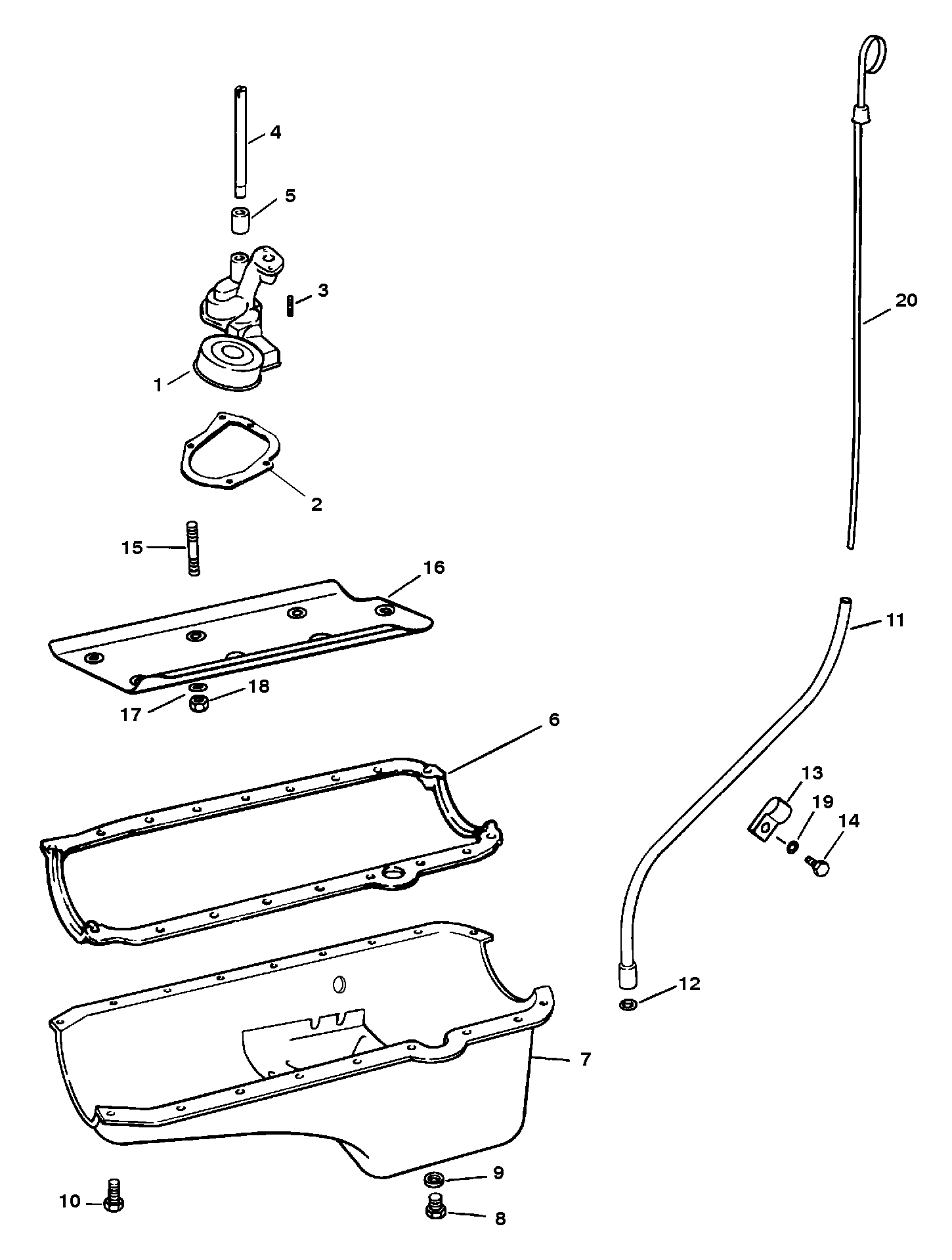
525 SC GM 454 V-8 1991-1992 - Serial 0D456000 Thru 0F348963 - Oil Pan and Oil Pump Assy (0D763746 - 0F348963)
Other Sub-Sections:
- Alternator Assembly (Mando Ac-155603)
- Alternator Assembly (Mando AR-150)
- Alternator Assembly (Prestolite 8EM2003KA)
- Audio Warning System
- Crankshaft and Pistons and Conn. Rods
- Cylinder Block and Camshaft
- Cylinder Head and Rocker Cover
- Distributor and Ignition Components
- Drivehshaft and Tailstock (Driveline)
- Driveshaft Extension Components (Bravo)
- Exhaust Manifold-Elbow
- Flywheel Housing (Bravo Driveshaft Models)
- Flywheel Housing (Bravo Plug-In Model)
- Flywheel Housing (Transmission Models)
- Fuel Pump and Carburetor and Linkage
- Fuel Pump and Fuel Filter
- Intake Manifold and Supercharger
- Mount Plates
- Oil Cooler (Transmission)
- Oil Cooler and Oil Filter and Adaptor
- Oil Pan and Oil Pump Assy (0D456000 - 0D725808)
- Oil Pan and Oil Pump Assy (0D763746 - 0F348963)
- Power Steering Components
- Reservoir Bottle
- Sea Water Pump Assembly (0D456000 - 0D763745)
- Sea Water Pump Assembly (0D763746 - 0F348963)
- Shift Bracket
- Starter and Alternator
- Starter Assembly (50-17251A3)
- Starter Assembly (50-99418A2)
- Thermostat Housing Assembly
- Transmission (Driveline)
- Transmission (Plug-In)
- Wiring and Electrical Components (0D456000 - 0D763831)
- Wiring and Electrical Components (0D763871 - 0F348963)
| Ref. | OEM Part # | Hardin # | Mallory # | GLM # | Other # | Description | Num Req. | Superceded From | Special Notes |
| 1 | 827589T1 | PUMP ASSEMBLY-Oil | 1 | 827589A1 | |||||
| 2 | FI5000254 | GASKET-Oil Pump Cover | 1 | This Part is No Longer Available 14 | |||||
| 3 | 16-845599 | STUD | 1 | 16-49108 | |||||
| 4 | 14761 | SHAFT | 1 | ||||||
| 5 | 23-36183 | RETAINER | 1 | ||||||
| 6 | 27-845628 | GASKET | 1 | 27-811566 | 14 | ||||
| 7 | 845668T | PAN ASSEMBLY-Oil | 1 | 811549 | |||||
| 8 | 22-808708 | PLUG-Oil Drain | 1 | ||||||
| 9 | 27-8M0077608 | GASKET-Oil Drain Plug | 1 | 27-49955 | |||||
| 10 | 10-841389 | SCREW (.312-18 x .625) | 20 | 10-808707 | |||||
| 11 | 818631A6 | TUBE ASSEMBLY-Dipstick | 1 | ||||||
| 12 | 25-62704 | O RING | 1 | 14 | |||||
| 13 | 54-822279 | CLIP | 1 | ||||||
| 14 | 10-66293 | SCREW (.250-20 x .500) | 1 | This Part is No Longer Available | |||||
| 15 | 16-811683 | STUD | 5 | ||||||
| 16 | 843945T | BAFFLE | 1 | 811682 | |||||
| 17 | 12-20553 | WASHER | 5 | ||||||
| 18 | 11-37500 | NUT (.375-16) | 5 | ||||||
| 19 | 13-26992 | LOCKWASHER (.250) | 1 | ||||||
| 20 | 861942T9 | DIPSTICK-Oil Level | 1 | 805567T | |||||
| - | 27-827014A98 | Gasket Set | - | 27-827014A92 |


