| Ref. |
OEM Part # |
Hardin # |
Mallory # |
GLM # |
Other # |
Description |
Num Req. |
Superceded From |
Special Notes |
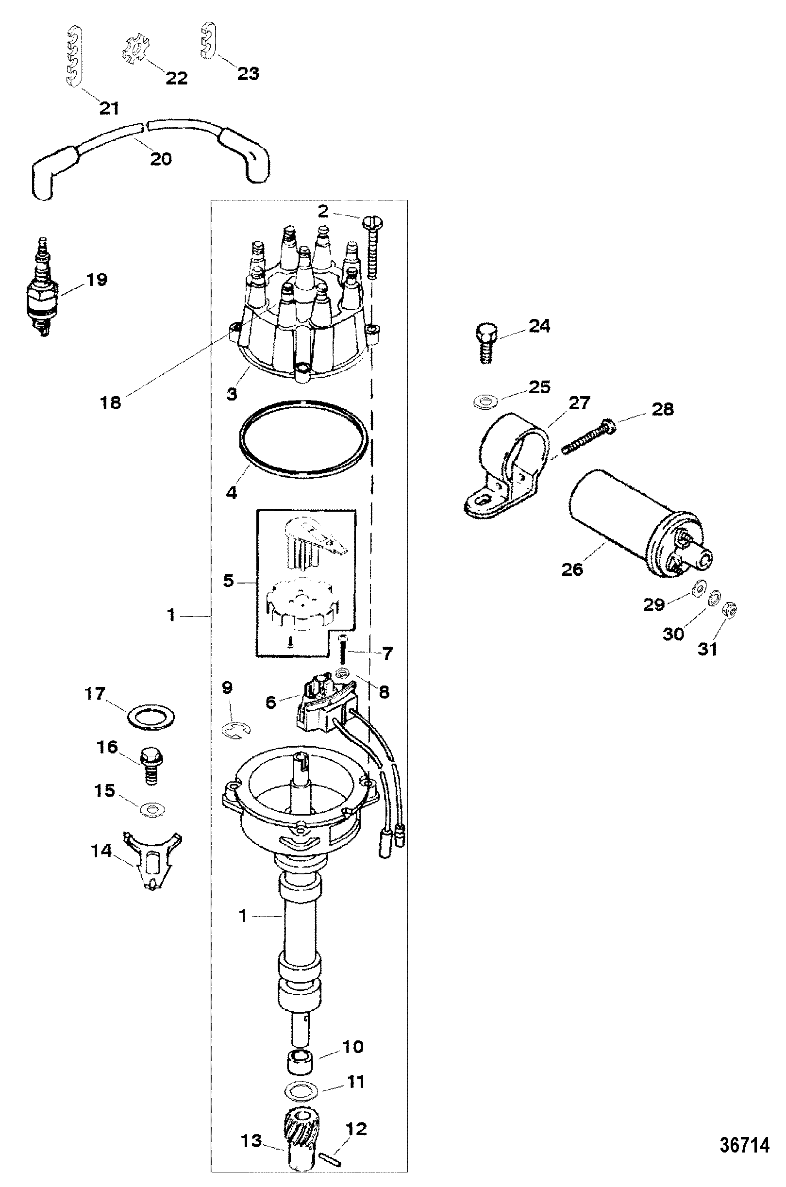
| 1 |
805185A36 |
|
|
700-71250 |
|
DISTRIBUTOR ASSEMBLY |
1 |
|
|
| 2 |
10-90926 |
|
|
700-22305 |
|
SCREW, (#10-32 x .810) |
4 |
|
|
| 3 |
805759T1 |
|
676-9-29403 |
|
|
CAP ASSEMBLY |
1 |
805759T2 |
|
| 4 |
27-805760 |
|
676-9-61050 |
700-32060 |
|
GASKET, Distributor Cap |
1 |
|
2 |
| 5 |
13524T1 |
|
|
700-72880 |
|
WHEEL ASSEMBLY, Rotor Sensor |
1 |
|
|
| 6 |
87-892150Q02 |
|
|
|
|
SENSOR ASSEMBLY |
1 |
87-861780A2 |
|
| 7 |
10-66686 |
|
|
700-22311 |
|
SCREW, (#10-32 x 1.00) |
2 |
|
|
| 8 |
13-26996 |
|
|
|
|
LOCKWASHER, (#10) Stainless Steel |
2 |
|
|
| 9 |
53-90916 |
|
|
|
|
RING, Retaining |
1 |
|
|
| 10 |
23-90915 |
|
|
700-21426 |
|
BUSHING |
2 |
|
|
| 11 |
12-90931 |
|
|
700-21661 |
|
THRUST WASHER |
1 |
|
|
| 12 |
17-47617 |
|
|
700-22195 |
|
PIN, Roll |
1 |
|
|
| 13 |
43-818807 |
|
|
700-19360 |
|
GEAR, Drive |
1 |
|
|
| 14 |
52185 |
|
|
|
|
CLAMP |
1 |
|
|
| 15 |
12-856774 |
|
|
|
|
WASHER, (.406 x .750 x .105) Stainless Steel |
1 |
|
|
| 16 |
10-805559 |
|
|
|
|
SCREW, (.375-16 x .875) Stainless Steel |
1 |
|
|
| 17 |
27-344863 |
|
|
|
|
GASKET |
1 |
|
2 |
| 18 |
37-92155 |
|
|
|
|
DECAL, Distributor Firing Order |
1 |
|
|
| 19 |
33-898264001 |
|
|
|
|
SPARK PLUG |
8 |
33-59571 |
|
| 20 |
84-847701Q7 |
|
|
|
|
CABLE KIT, Ignition |
1 |
84-847701A7 |
(Spark Plugs And Coil) (Blue) |
| 21 |
32783 |
|
|
|
|
RETAINER, Three Wire |
2 |
|
|
| 22 |
32784 |
|
|
|
|
RETAINER, Four Wire |
4 |
|
|
| 23 |
54676 |
|
|
|
|
RETAINER, Two Wire |
2 |
|
|
| 24 |
10-94247 |
|
|
|
525-10-94247 |
SCREW, (.375-16 x .750) Stainless Steel |
1 |
|
|
| 25 |
12-856774 |
|
|
|
|
WASHER, (.406 x .750 x .105) Stainless Steel |
1 |
|
|
| 26 |
300-8M0079202 |
|
|
|
|
COIL KIT, Ignition |
1 |
392-805570A2 |
|
| 27 |
65970T1 |
|
|
|
|
BRACKET, Coil Mount |
1 |
|
(On Electrical Bracket) |
| 28 |
10-41408 |
|
|
|
|
SCREW, (#10-32 x 1.50) |
1 |
|
|
| 29 |
12-30164 |
|
|
|
|
WASHER, (.192 x .375 x .0312) Stainless Steel |
2 |
|
|
| 30 |
13-26996 |
|
|
|
|
LOCKWASHER, (#10) Stainless Steel |
2 |
|
|
| 31 |
11-68219 |
|
|
|
|
NUT, (#10-32) Stainless Steel |
2 |
|
|
| - |
27-818572A98 |
|
|
|
|
GASKET SET, Engine Overhaul |
1 |
|
|