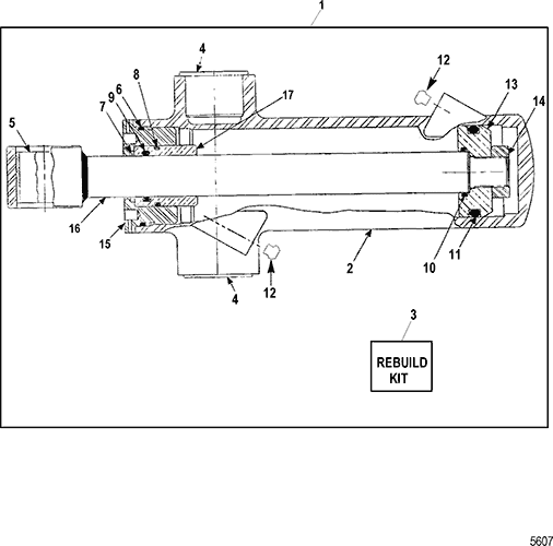
SSM Seven - All Serials - Trim Cylinder Assembly (Without Trim Sensor Plate)
Other Sub-Sections:
- Cable Actuator Components, Design-I
- Cable Actuator Components, Design-II
- Connector Block And Hydraulic Hoses
- Gear Housing Assembly (Dry Sump Six-NXT1 - Driveshaft)
- Gear Housing Assembly (Dry Sump Six-NXT1 - Propshaft)
- Gear Housing Assembly (SSM Seven - Driveshaft-Propshaft)
- Gear Housing Assembly (SSM Six - Driveshaft)
- Gear Housing Assembly (SSM Six - Propshaft)
- Gimbal Housing Assembly (Close Couple)
- Gimbal Housing Assembly (Driveline)
- Gimbal Ring And Bell Housing Assembly (With Trim Sensor)
- Gimbal Ring And Bell Housing Assembly (Without Trim Sensor)
- Inner Transom Plate Assembly (Dry Sump Six)
- Inner Transom Plate Assembly (SSM Six And Seven)
- Prop Ventilation Kit, SSM Six
- Spacer Kit (.500 Inch Thru 3.00 Inch)-SSM Six
- Spacer Kit (1.00 Inch Thru 3.00 Inch)-SSM Seven
- Spacer Kit (5.75 Inch)-SSM Six
- Steering Cylinder Assembly
- Tool List (Dry Sump Six-NXT1 SSM Six - Lower)
- Tool List (Dry Sump Six-NXT1 SSM Six - Transom)
- Tool List (Dry Sump Six-NXT1 SSM Six - Upper)
- Tool List (SSM Seven)
- Tool List (SSM Six)
- Trim Cylinder Assembly (With Trim Sensor Plate)
- Trim Cylinder Assembly (Without Trim Sensor Plate)
- Trim Pump Assembly (843017T03)
- Trim Pump Assembly (846860T1)
- Trim Pump Components (Design I - 846859A1)
- Trim Pump Components (Design II - 846859A1)
- U Joint Housing Assembly (Dry Sump Six-NXT1 SSM)
- U Joint Housing Assembly (SSM Seven)
- U Joint Housing Assembly (SSM Six - Early Style)
- U Joint Housing Assembly (SSM Six - Late Style)
| Ref. | OEM Part # | Hardin # | Mallory # | GLM # | Other # | Description | Num Req. | Superceded From | Special Notes |
| 1 | 846555A07 | CYLINDER ASSEMBLY, Trim | 1 | 846555A4 | |||||
| 2 | 8463172 | BODY, Trim Cylinder | 1 | ||||||
| 3 | 846555A2 | REBUILD KIT, Trim Cylinder | 1 | ||||||
| 4 | 23-846373 | BEARING, Flanged | 2 | ||||||
| 5 | 23-846372 | BEARING, Sleeve | 1 | ||||||
| 6 | 25-846362 | O-RING | 1 | ||||||
| 7 | 843311 | SCRAPER | 1 | ||||||
| 8 | 25-65936 | O-RING | 1 | ||||||
| 9 | 25-23145 | O-RING, (.984 x .139) | 1 | ||||||
| 10 | 25-86614 | O-RING, (1.049 x .103) | 1 | ||||||
| 11 | 25-846369 | O-RING, (1.850 x .190) | 1 | ||||||
| 12 | 843049 | INSERT, Inverted Flare Tube Seat - Brass | 2 | ||||||
| 13 | 847519 | PISTON, Standard | 1 | ||||||
| 13 | 847520A2 | PISTON AND ROD KIT, Trim, .020 Oversize | OPT | This Part is No Longer Available | |||||
| 14 | 11-20739 | NUT, (.750-16) | 1 | ||||||
| 15 | 846446 | CAP, End | 1 | ||||||
| 16 | 879317T98 | ROD ASSEMBLY, Piston | 1 | 847520 | |||||
| 17 | 846445 | BUSHING, Rod Guide | 1 |


