5.7L EFI (2 BBL-TBI) GM 350 V-8 1996 - Serial 0F752400 Thru 0K001505 - Standard Cooling System (Bravo Engines)
Other Sub-Sections:
- Alternator (Mando)
- Crankshaft And Flywheel
- Cylinder Block And Camshaft (5.7L Alpha
- Cylinder Block And Camshaft (5.7Lx Alpha
- Cylinder Head And Rocker Cover
- Distributor And Ignition Components
- Electrical Box And Components
- Engine Mounting
- Exh. Manifold And Cast Iron Exhaust Elbow (Alpha)
- Exh. Manifold And Stainless Steel Exhaust Elbow (Bravo)
- Exhaust System
- Flywheel Housing
- Fuel Pump And Fuel Filter
- Intake Manifold And Front Cover
- Mercathode Components
- Miscellaneous Information
- Oil Filter And Adaptor
- Oil Pan And Oil Pump
- Pistons And Connecting Rods
- Power Steering Components
- Sea Water Pump Assembly (Bravo Engines)
- Senders And Sensors
- Shift Bracket (Alpha Engines)
- Shift Bracket (Bravo Engines)
- Standard Cooling System (Alpha Engines)
- Standard Cooling System (Bravo Engines)
- Starter Motor
- Starter Motor And Alternator
- Throttle Body
- Throttle Linkage (Alpha Engines)
- Throttle Linkage (Bravo Engines)
- Vapor Separator Tank
- Vapor Separator Tank And Fuel Lines
- Wiring Harness (EFI)
- Wiring Harness (Engine)
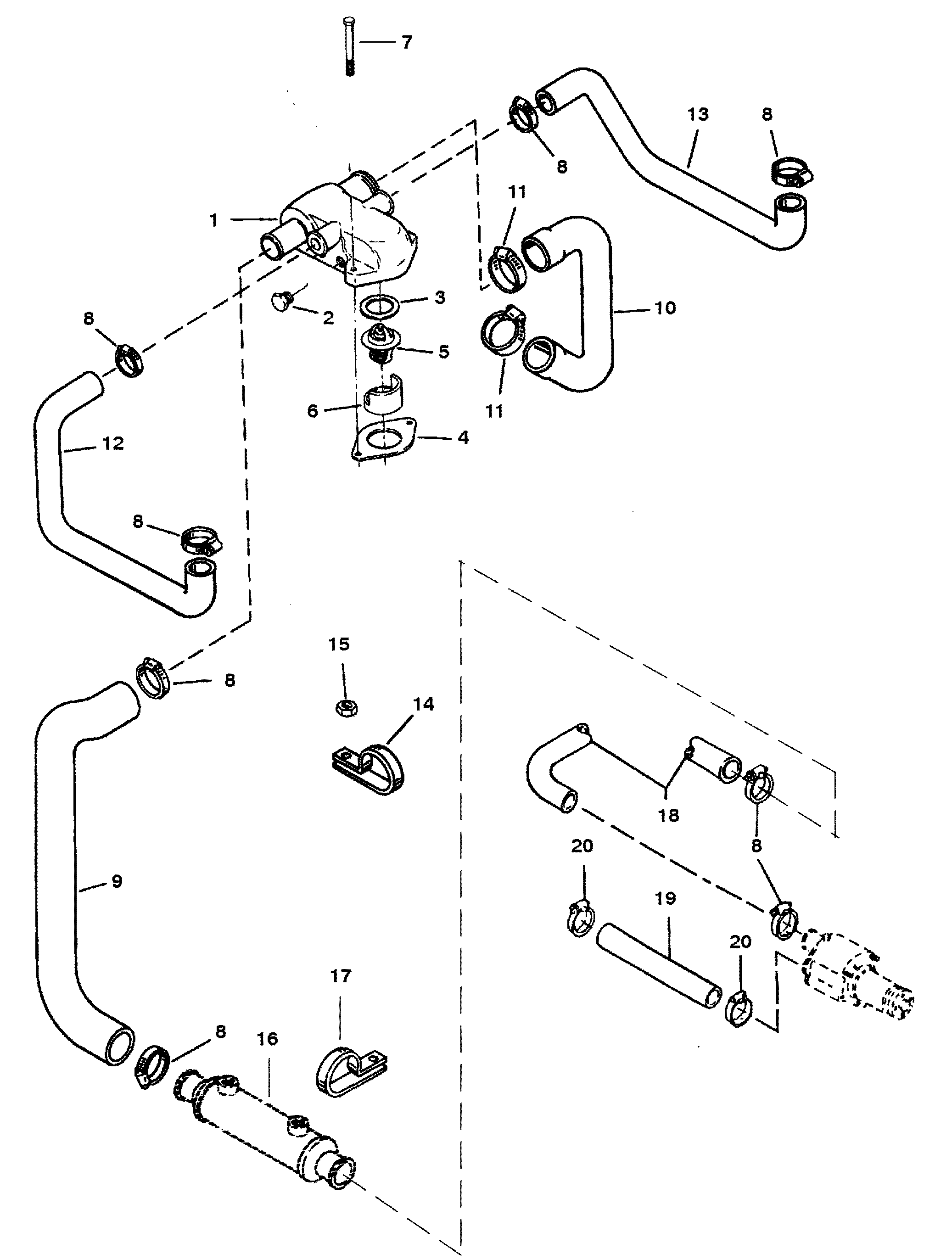
| Ref. | OEM Part # | Hardin # | Mallory # | GLM # | Other # | Description | Num Req. | Superceded From | Special Notes |
| 1 | 806235A1 | THERMOSTAT HOUSING ASSEMBLY | 1 | ||||||
| 2 | 22-32803 | 700-21894 | PIPE PLUG | 2 | |||||
| 3 | 27-806871 | GASKET | 1 | 5 | |||||
| 4 | 27-530451 | GASKET | 1 | 5 | |||||
| 5 | 807252T2 | THERMOSTAT | 1 | 8072522 | |||||
| 6 | 23-806922 | SLEEVE | 1 | ||||||
| 7 | 10-98794 | 676-9-78129 | 700-28300 | 525-10-98794 | SCREW | 2 | |||
| 8 | 54-815504220 | CLAMP | AR | 6 | |||||
| 9 | 32-806856 | HOSE-OIL COOLER TO THERMOSTAT HOUSING | 1 | ||||||
| 10 | 32-861590A05 | HOSE-THERMOSTAT HOUSING TO WATER PUMP | 1 | 32-806825 | |||||
| 11 | 54-815504232 | CLAMP | 2 | ||||||
| 12 | 32-8066351 | HOSE-THERMOSTAT HOUSING | 1 | (PORT) | |||||
| 13 | 32-8066361 | HOSE-THERMOSTAT HOUSING | 1 | (STARBOARD) | |||||
| 14 | 54-47715 | CLIP | 1 | ||||||
| 15 | 11-29250 | NUT | 1 | ||||||
| 16 | <861554T01 | OIL COOLER | 1 | 807292T | |||||
| 17 | 54-816398 | CLAMP | 1 | ||||||
| 18 | 32-887952 | HOSE-OIL COOLER TO SEA WATER PUMP | 1 | ||||||
| 19 | 32-865672079 | HOSE-SEA WATER PUMP TO DRIVE UNIT | 1 | 32-1743579 | |||||
| 20 | 54-815504222 | CLAMP | 2 | ||||||
| - | 27-806871A96 | GASKET SET-OVERHAUL | 1 |


