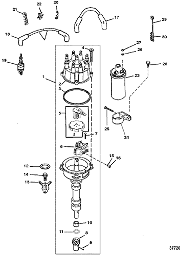
| Ref. |
OEM Part # |
Hardin # |
Mallory # |
GLM # |
Other # |
Description |
Num Req. |
Superceded From |
Special Notes |
| 1 |
805185A36 |
|
|
700-71250 |
|
DISTRIBUTOR ASSEMBLY |
1 |
90747A27 |
1 |
| 1 |
805185A36 |
|
|
700-71250 |
|
DISTRIBUTOR ASSEMBLY |
1 |
805185A26 |
5 |
| 2 |
805759T1 |
|
676-9-29403 |
|
|
CAP ASSEMBLY |
1 |
805759A2 |
|
| 3 |
27-805760 |
|
676-9-61050 |
700-32060 |
|
GASKET |
1 |
|
|
| 4 |
10-90926 |
|
|
700-22305 |
|
SCREW, (#10-32 x .810) |
4 |
|
|
| 5 |
13524T1 |
|
|
700-72880 |
|
ROTOR/SENSOR WHEEL |
1 |
13524A5 |
|
| 6 |
87-892150Q02 |
|
|
|
|
SENSOR ASSEMBLY |
1 |
87-91019A3 |
(W/ NUT CONNECTORS 1 |
| 6 |
87-892150Q02 |
|
|
|
|
SENSOR ASSEMBLY |
1 |
87-91019A6 |
(W/ BULLET CONNECTORS) 5 |
| 7 |
10-66686 |
|
|
700-22311 |
|
SCREW, (#10-32 x 1.00) |
1 |
|
|
| 7 |
10-72202 |
|
|
700-22312 |
|
SCREW, (#10-32 x 1.25) |
1 |
|
|
| 8 |
43-818807 |
|
|
700-19360 |
|
GEAR |
1 |
|
|
| 9 |
17-47617 |
|
|
700-22195 |
|
PIN |
1 |
|
|
| 10 |
23-90915 |
|
|
700-21426 |
|
BUSHING |
2 |
|
|
| 11 |
12-90931 |
|
|
700-21661 |
|
THRUST WASHER |
1 |
|
|
| 12 |
27-344863 |
|
|
|
|
GASKET |
1 |
|
4 |
| 13 |
52185 |
|
|
|
|
CLAMP |
1 |
|
|
| 14 |
10-806681 |
|
|
|
|
SCREW, (.375-16 x .875) |
1 |
|
|
| 15 |
13-26996 |
|
|
|
|
LOCKWASHER, (#10) Stainless Steel |
2 |
|
|
| 16 |
11-68219 |
|
|
|
|
NUT, (#10-32) Stainless Steel |
2 |
|
|
| 17 |
84-816761Q4 |
|
|
|
|
SPARK PLUG WIRE KIT |
1 |
84-816761A4 |
1 |
| 17 |
84-816761Q17 |
|
|
|
|
SPARK PLUG WIRE KIT |
1 |
84-816761A17 |
5 |
| 18 |
85-63709A1 |
|
|
|
|
BOOT/TERMINAL KIT |
8 |
|
|
| 19 |
33-898264001 |
|
|
|
|
SPARK PLUG |
8 |
33-59571 |
|
| 20 |
54676 |
|
|
|
|
RETAINER, Two Wire |
2 |
|
|
| 21 |
32783 |
|
|
|
|
RETAINER, Three Wire |
2 |
|
|
| 22 |
32784 |
|
|
|
|
RETAINER, Four Wire |
2 |
|
|
| 23 |
300-8M0079202 |
|
|
|
|
COIL KIT |
1 |
392-805570A2 |
|
| 24 |
77294T |
|
|
|
|
BRACKET |
1 |
|
This Part is No Longer Available 1 |
| 24 |
65970T1 |
|
|
|
|
BRACKET |
1 |
|
5 |
| 25 |
10-41408 |
|
|
|
|
SCREW, (#10-32 x 1.50) |
1 |
|
|
| 26 |
12-30164 |
|
|
|
|
WASHER, (.192 x .375 x .0312) Stainless Steel |
2 |
|
|
| 27 |
13-26996 |
|
|
|
|
LOCKWASHER, (#10) Stainless Steel |
2 |
|
|
| NS |
11-68219 |
|
|
|
|
NUT, (#10-32) Stainless Steel |
2 |
|
|
| 28 |
10-98261 |
|
|
|
|
SCREW, (.375-16 x .750) |
1 |
|
|
| 29 |
16-90096A1 |
|
|
|
|
STUD ASSEMBLY, (#10-32 x Special) |
2 |
|
NEW DESIGN |
| 30 |
54-72821 |
|
|
|
|
RETAINER |
2 |
|
NEW DESIGN |