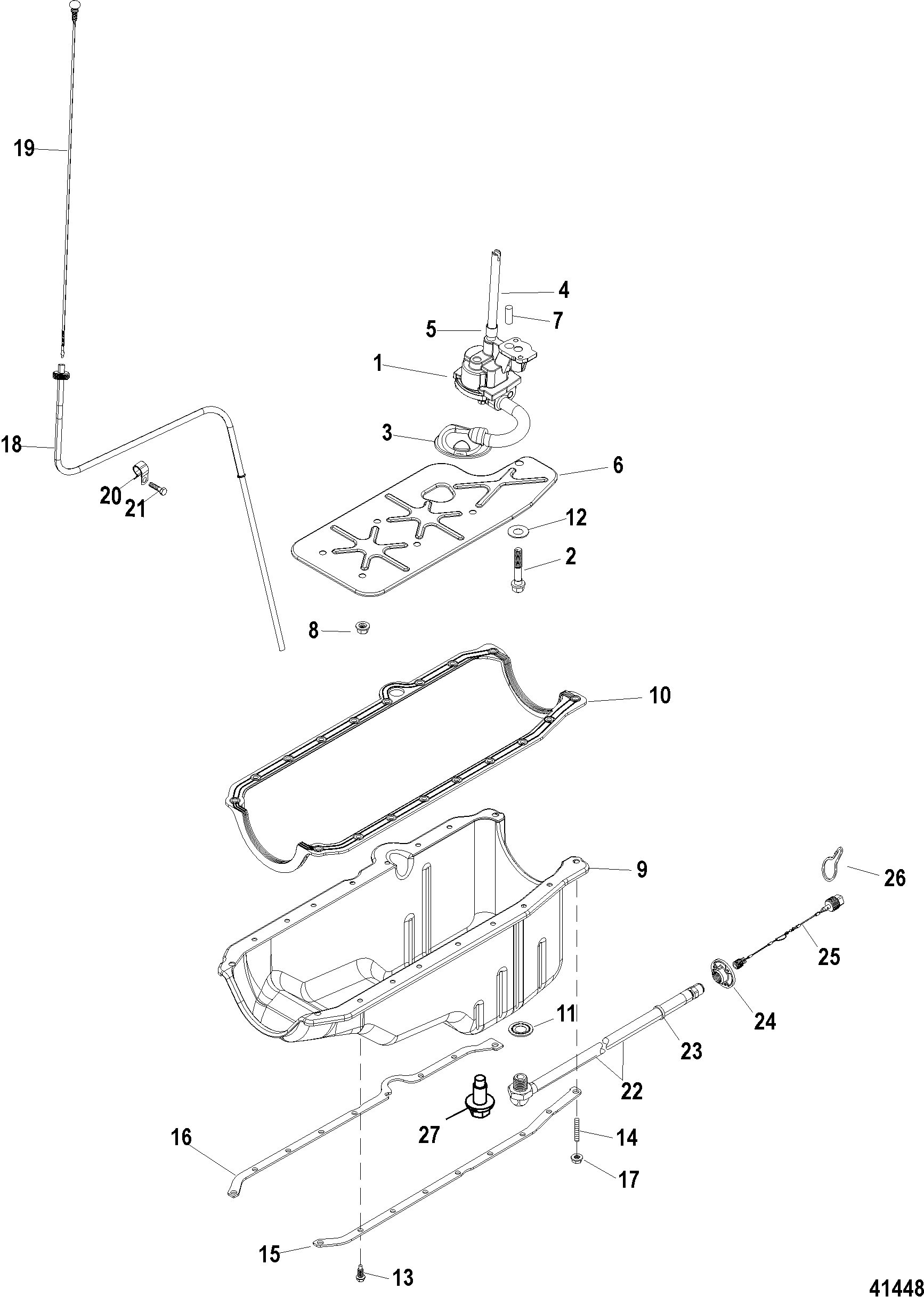
5.0L MPI Alpha-Bravo - Serial 1A300000 Thru 1A611927 - Oil Pan and Oil Pump
Other Sub-Sections:
- Alpha-Bravo Steering Components
- Alternator and Brackets
- AXIUS Steering Components, Oil Cooler and Bracket, Gen I
- AXIUS Steering, Fluid Filter (HP) 1A347685 and Up, Gen I
- AXIUS Steering, Fluid Filter (Non-HP) 1A347684 and Down, Gen I
- AXIUS Steering, High Pressure Filter Conversion Kit, Gen I
- AXIUS Steering, Hoses (For HP Filter) 1A347685 and Up, Gen I
- AXIUS Steering, Hoses (Non-HP Filter) 1A347684 and Down, Gen I
- AXIUS Steering, Hydraulic Pump, 1A342859 and Down, Gen I
- AXIUS Steering, Hydraulic Pump, 1A342860 and Up, Gen I
- AXIUS Steering, Reservoir and Front Lifting Eye, Gen I
- Closed Cooling System, ALPHA
- Closed Cooling System, AXIUS
- Closed Cooling System, BRAVO
- Closed Cooling System, Heat Exchanger
- Cool Fuel System -Bravo(1A343748 and Below)
- Cool Fuel System -Bravo(1A343749 and Above)
- Cylinder Block, Camshaft and Crankshaft
- Cylinder Block, Flywheel Housing and Rear Main Seal
- Cylinder Head and Rocker Cover
- Distributor and Ignition Components
- Electrical Components, Digital (1A343327 and Below)
- Electrical Components, Digital (1A343328 and Up)
- Electrical Components, Mechanical (1A343327 and Below)
- Electrical Components, Mechanical (1A343328 and Up)
- Engine Mounts
- Exhaust Manifold and Elbow
- Exhaust Risers
- Exhaust System Components
- Front Cover and Circulating Pump
- Fuel Filter, Alpha
- Fuel Module Components -Bravo(1A343748 and Below)
- Fuel Module Components -Bravo(1A343749 and Above)
- Fuel Supply Module, Alpha
- Gasket Set Components (27- 75611A03), Cylinder Head
- Gasket Set Components (27-861246A05), Engine Overhaul
- Gear Lube Monitor
- Intake Manifold and Fuel Rail
- Jackshaft Main Kit
- Mercathode Components
- Oil Pan and Oil Pump
- Pistons and Connecting Rods
- Remote Oil Filter Assembly
- Sea Water Pump Assembly
- Shift Bracket, Alpha
- Shift Bracket, Axius
- Shift Bracket, Bravo
- Shift Bracket, Digital Throttle and Shift
- Standard Cooling System - ALPHA, 7 Point Drain
- Standard Cooling System - ALPHA, Single and 3 Point Drain
- Standard Cooling System - AXIUS
- Standard Cooling System - BRAVO, 7 Point Drain
- Standard Cooling System - BRAVO, Single and 3 Point Drain
- Starter Motor
- Thermostat and Housing, 7 Point Drain
- Thermostat and Housing, Single and 3 Point Drain
- Throttle Body, Digital Throttle and Shift
- Throttle Body, Mechanical
- Water Distribution Housing
- Water Drain, Air Manifold and Pump
| Ref. | OEM Part # | Hardin # | Mallory # | GLM # | Other # | Description | Num Req. | Superceded From | Special Notes |
| 1 | 809907002 | PUMP ASSEMBLY, Oil | 1 | 4 | |||||
| 2 | 10-17346 | SCREW, Oil Pump | 1 | 4 | |||||
| 3 | 809909 | SCREEN, Oil Pump Pick Up | 1 | 4 | |||||
| 4 | 36184 | SHAFT | 1 | 4 | |||||
| 5 | 23-36183 | RETAINER | 1 | 4 | |||||
| 6 | 986021 | DEFLECTOR, Oil | 1 | 4 | |||||
| 7 | 17-843378 | PIN, Dowel, Alignment, Oil Pump | 1 | 4 | |||||
| 8 | 11-845602 | NUT, (.375-16) | 5 | 4 | |||||
| 9 | 809910 | PAN, Oil | 1 | 4 | |||||
| 10 | 27-138651 | 676-9-61504 | GASKET, Oil Pan | 1 | 4 | ||||
| 11 | 27-8M0077608 | GASKET, Drain Screw | 1 | 27-49955 | 4 | ||||
| 12 | 12-27339 | WASHER | 1 | ||||||
| 13 | 10-14070 | SCREW, (.250-20 x .625) | 14 | 4 | |||||
| 14 | 16-11989 | STUD, (.312-18 x 1.6718) | 2 | 4 | |||||
| 15 | 14257 | REINFORCEMENT, Port | 1 | 4 | |||||
| 16 | 14256 | REINFORCEMENT, Starboard | 1 | 4 | |||||
| 17 | 11-11971 | NUT, (.312-18) | 4 | 4 | |||||
| 18 | 862704A4 | TUBE, Dipstick | 1 | 4 | |||||
| 19 | 861942T9 | DIPSTICK, Oil Level | 1 | ||||||
| 20 | 54-805625 | CLIP, Dipstick Tube | 1 | 4 | |||||
| 21 | 10-35366 | SCREW | 1 | 4 | |||||
| 22 | 32-865281 | HOSE, Oil Drain | 1 | SN# 1A342185 & Below | |||||
| 22 | 32-865280 | HOSE, Oil Drain | 1 | (Jackshaft Models) SN# 1A342185 & Below | |||||
| 23 | 54-863481 | CLAMP, Ty Strap | 1 | SN# 1A342185 & Below | |||||
| 24 | 862777 | FLANGE, Drain | 1 | SN# 1A342185 & Below | |||||
| 25 | 862827 | TETHER ASSEMBLY | 1 | SN# 1A342185 & Below | |||||
| 26 | 54-805524 | CLIP | 1 | SN# 1A342185 & Below | |||||
| 27 | 10-809911001 | SCREW KIT, Drain | 1 | SN# 1A342186 & Up | |||||
| - | 27-861246A05 | GASKET SET, Engine Overhaul | 1 |


