| Ref. |
OEM Part # |
Hardin # |
Mallory # |
GLM # |
Description |
Num Req. |
Superceded From |
Special Notes |
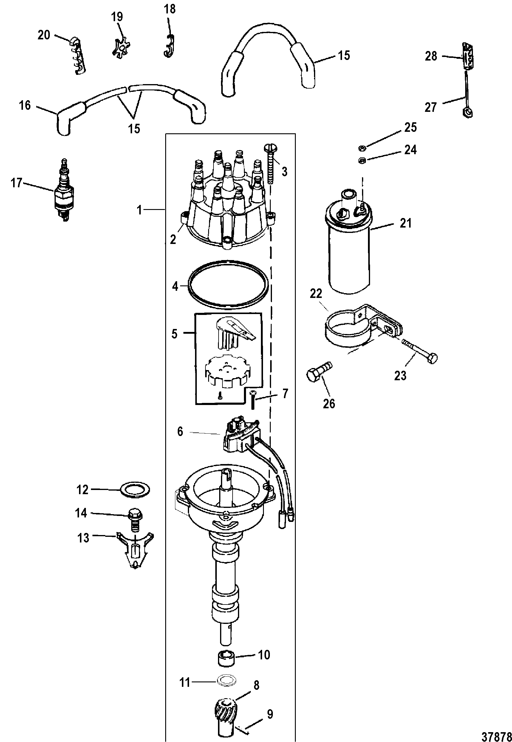
| 1 |
805185A36 |
|
|
700-71250 |
DISTRIBUTOR ASSEMBLY |
1 |
805185A26 |
|
| 2 |
805759T1 |
|
676-9-29403 |
|
CAP ASSEMBLY |
1 |
805759A2 |
(Included in 805185A36) |
| 3 |
10-90926 |
|
|
700-22305 |
SCREW, (#10-32 x .810) |
4 |
|
(Included in 805185A36) |
| 4 |
27-805760 |
|
676-9-61050 |
700-32060 |
GASKET |
1 |
|
(Included in 805185A36) |
| 5 |
13524T1 |
|
|
700-72880 |
WHEEL ASSEMBLY |
1 |
13524A1 |
(Included in 805185A36) |
| 6 |
87-892150Q02 |
|
|
|
SENSOR ASSEMBLY |
1 |
87-91019A6 |
(Included in 805185A36) |
| 7 |
10-66686 |
|
|
700-22311 |
SCREW, (#10-32 x 1.00) |
1 |
|
(Included in 805185A36) |
| 7 |
10-72202 |
|
|
700-22312 |
SCREW, (#10-32 x 1.25) |
1 |
|
(Included in 805185A36) |
| 8 |
43-818807 |
|
|
700-19360 |
GEAR |
1 |
|
(Included in 805185A36) |
| 9 |
17-47617 |
|
|
700-22195 |
PIN |
2 |
|
(Included in 805185A36) |
| 10 |
23-90915 |
|
|
700-21426 |
BUSHING |
1 |
|
(Included in 805185A36) |
| 11 |
12-90931 |
|
|
700-21661 |
THRUST WASHER |
1 |
|
|
| 12 |
27-344863 |
|
|
|
GASKET |
1 |
|
1,2 |
| 13 |
52185 |
|
|
|
CLAMP |
1 |
|
|
| 14 |
10-806681 |
|
|
|
SCREW, (.375-16 x .875) |
1 |
|
|
| 15 |
84-816608Q61 |
|
|
|
CABLE KIT, Ignition (Spark Plugs & Coil) |
1 |
84-816608A61 |
|
| 16 |
85-63709A1 |
|
|
|
BOOT/TERMINAL KIT |
8 |
|
|
| 17 |
33-898264001 |
|
|
|
SPARK PLUG |
8 |
33-59571 |
|
| 18 |
54676 |
|
|
|
RETAINER, Two Wire |
2 |
|
|
| 19 |
32783 |
|
|
|
RETAINER, Three Wire |
2 |
|
|
| 20 |
32784 |
|
|
|
RETAINER, Four Wire |
2 |
|
|
| 21 |
300-8M0079202 |
|
|
|
COIL KIT, Ignition |
1 |
392-805570A2 |
|
| 22 |
65970T1 |
|
|
|
BRACKET, Coil |
1 |
|
(Included in 300-8M0079202) |
| 23 |
10-41408 |
|
|
|
SCREW, (#10-32 x 1.50) |
1 |
|
(Included in 300-8M0079202) |
| 24 |
13-26996 |
|
|
|
LOCKWASHER, (#10) Stainless Steel |
2 |
|
(Included in 300-8M0079202) |
| 25 |
11-68219 |
|
|
|
NUT, (#10-32) Stainless Steel |
2 |
|
(Included in 300-8M0079202) |
| 26 |
10-92913 |
|
|
|
SCREW, (.437-14 x .750) |
1 |
|
|
| 27 |
16-90096A1 |
|
|
|
STUD ASSEMBLY, (#10-32 x Special) |
2 |
|
|
| 28 |
54-72821 |
|
|
|
RETAINER |
2 |
|
(Included in | 16-90096A1) |
| - |
27-850470A96 |
|
|
|
GASKET SET, Overhaul |
1 |
|
(7.4L BRAVO) |
| - |
27-850465A96 |
|
|
|
GASKET SET, Overhaul |
1 |
|
(454 MAGNUM) |