502 Mag MPI (Gen 6) GM V-8 1996 - Serial 0F802600 Thru 0K999999 - Engine Mounting
Other Sub-Sections:
- Alternator (Mando)
- Crankshaft, Pistons And Connecting Rods
- Cylinder Block And Camshaft
- Cylinder Head And Rocker Cover
- Distributor And Ignition Components
- Electrical Box And Components
- Engine Mounting
- Exhaust Block-Off Plate
- Exhaust Manifold And Exhaust Elbow
- Flywheel Housing
- Fuel Filter (Fuel Cooled System) 0K147350 and Up
- Fuel Pump And Filter (VST Fuel System) 0K147349 and Below
- Fuel Pump and Fuel Cooler (Fuel Cooled Sys) 0K147350 and Up
- Intake Manifold And Intake Plenum
- Oil Filter And Adaptor
- Oil Pan And Oil Pump
- Oil Reservoir Bottle And Bracket
- Power Steering Components
- Sea Water Pump (Fuel Cooled System) (0K147350 and Up)
- Sea Water Pump (VST Fuel System) (0K147349 and Below)
- Senders And Harness Bracket
- Shift Bracket
- Starter And Alternator
- Starter Motor (PG260)
- Thermostat Housing (Fuel Cooled System) 0K147349 and Below
- Thermostat Housing (VST Fuel System) 0K147349 and Below
- Vapor Separator Tank
- Vapor Separator Tank And Fuel Rail
- Water Pump And Front Cover
- Wiring Harness (EFI)
- Wiring Harness (Engine)
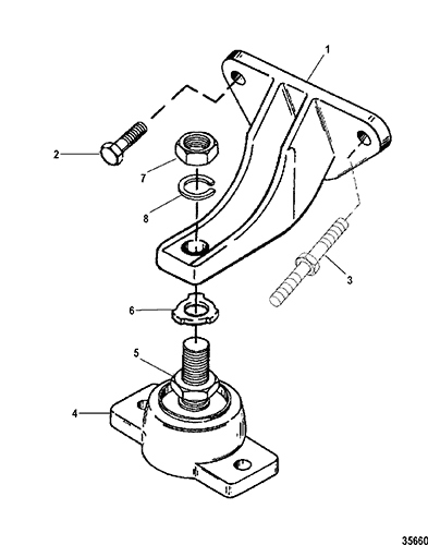
| Ref. | OEM Part # | Hardin # | Mallory # | GLM # | Other # | Description | Num Req. | Superceded From | Special Notes |
| 1 | 79550A1 | BRACKET | 2 | ||||||
| 2 | 10-68101 | SCREW, (.375-16 x 1.375) | 2 | ||||||
| 3 | 16-805357 | STUD, (.375-16 x 2.130) | 4 | ||||||
| 4 | 814263A1 | BASE ASSEMBLY | 2 | ||||||
| 5 | 11-816331 | NUT, (.750-16) | 2 | ||||||
| 6 | 14-12657 | TAB WASHER | 2 | ||||||
| 7 | 11-859126 | NUT, (.750-16) | 2 | ||||||
| 8 | 13-68102 | LOCKWASHER, (.750) | 2 |


