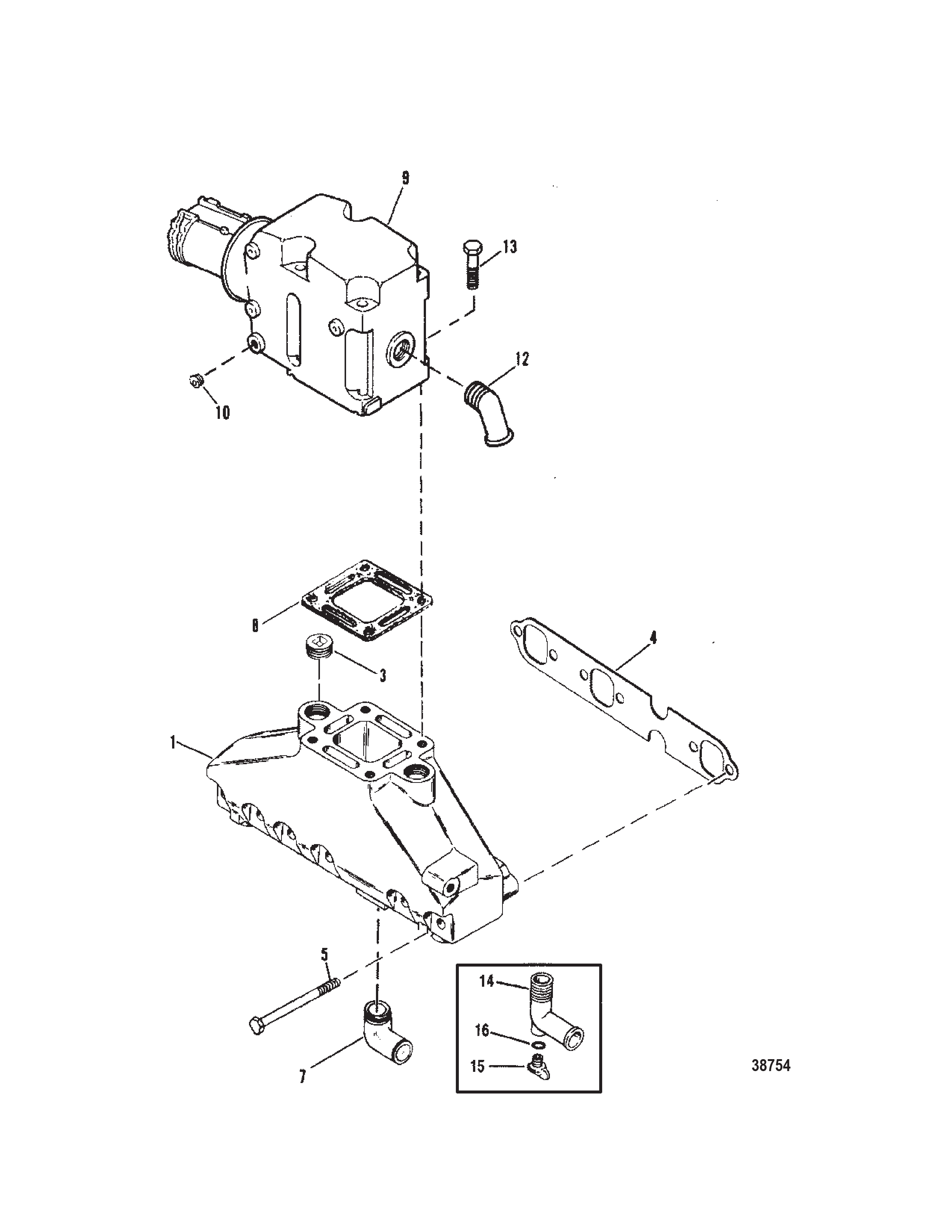
4.3L (GEN II) (2 BBL.) GM 262 V-6 - 0F000878 THRU 0F601126 - EXHAUST MANIFOLD AND EXHAUST RISER
Other Sub-Sections:
- ALTERNATOR (MANDO)
- AUDIO WARNING SYSTEM
- BODENSEE PARTS
- CARBURETOR (MERCARB - 2 BARREL)
- CARBURETOR (WEBER)
- CARBURETOR AND THROTTLE LINKAGE (2 BARREL)
- CARBURETOR AND THROTTLE LINKAGE (4 BARREL)
- CRANKSHAFT AND PISTONS
- CYLINDER BLOCK AND CAMSHAFT
- CYLINDER HEAD AND ROCKER COVER
- DISTRIBUTOR AND IGNITION COMPONENTS
- ENGINE MOUNTING
- EXHAUST MANIFOLD AND EXHAUST RISER
- EXHAUST SYSTEM
- FLYWHEEL HOUSING
- FUEL PUMP AND FUEL FILTER
- INTAKE MANIFOLD AND FRONT COVER
- OIL PAN AND OIL PUMP
- POWER STEERING COMPONENTS
- REMOTE OIL FILTER
- SERVICE AND SUPPORT MATERIAL
- SHIFT BRACKET
- STANDARD COOLING SYSTEM (DESIGN I)
- STANDARD COOLING SYSTEM (DESIGN II)
- STARTER MOTOR 3-1-4 DIAMETER END CAP
- STARTER MOTOR 8 IN. (PG 260) 2-7-8 IN. DIAMETER END CAP
- STARTER MOTOR AND ALTERNATOR
- WIRING HARNESS AND ELECTRICAL COMPONENTS
| Ref # | Part Class | Part Number | Description | Comments | Qty | Note |
|---|---|---|---|---|---|---|
| 1 | 0000 | 99746A8 | MANIFOLD ASSEMBLY Exhaust | 2 | ||
| 3 | 0022 | 33198A1 | PLUG (3/4-14) | AR | ||
| 4 | 0027 | OEM: 525-27-99757, Sierra: 676-18-2909, GLM: 700-32170 | GASKET | 2 | [1] | |
| 5 | 0010 | OEM: 525-10-53728, GLM: 700-21745 | SCREW (.375-16 x 4.75) | 12 | ||
| 7 | 0022 | 36305 | ELBOW (90 Degrees) (90 DEG.) - METAL | 2 | ||
| 8 | 0027 | 41813 | GASKET | 2 | ||
| 9 | 0000 | 44354A3 | ELBOW ASSEMBLY Exhaust | 2 | ||
| 9 | 0000 | 44354A10 | ELBOW ASSEMBLY Exhaust (PORT) BODENSEE | 1 | ||
| 9 | 0000 | 44354A9 | ELBOW ASSEMBLY Exhaust (STARBOARD) BODENSEE | 1 | ||
| 10 | 0022 | OEM: 525-22-36382, GLM: 700-21887 | FITTING (.250-18 x .62) Brass | 4 | ||
| 12 | 0022 | 92499 | FITTING (45 Degrees) (45 DEG.) | AR | ||
| 12 | 0022 | 45084 | FITTING Straight (STRAIGHT) | AR | ||
| 13 | 0010 | 43749 | SCREW (.375-16 x 5.750) | 8 | ||
| 14 | 0022 | 806926A1 | ELBOW KIT Drain | 2 | ||
| 15 | 0022 | 806608A1 | PLUG KIT (.500-13) Royal Blue | 2 | [2] | |
| 16 | 0025 | 806609 | QUAD RING | 2 | ||
| - | 0000 | 93320A3 | RISER KIT Exhaust Elbow (3 In.) EACH KIT CONTAINS 2 RISERS | 1 | ||
| - | 0000 | 93322A6 | RISER KIT Exhaust Elbow (6 In.) EACH KIT CONTAINS 2 RISERS | 1 |
PART NOTES:
[1] - Component of Gasket Set 824326A93
[2] - Alternate part numbers:
806608A 1Service Part
806608Q01QS


