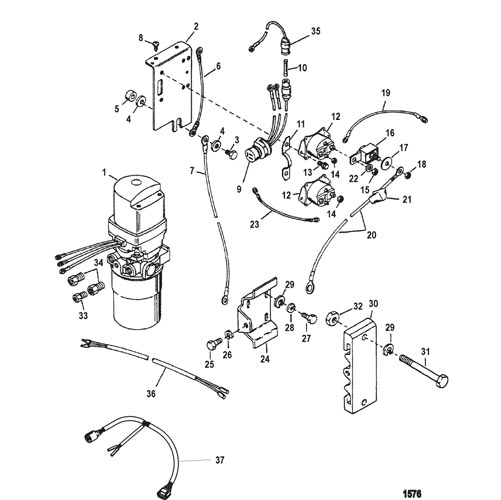
| Ref. |
OEM Part # |
Hardin # |
Mallory # |
GLM # |
Other # |
Description |
Num Req. |
Superceded From |
Special Notes |
| - |
846859A4 |
|
|
|
|
PUMP ASSEMBLY, Hydraulic (COMPLETE) |
1 |
|
|
| 1 |
8M0051203 |
|
|
|
|
PUMP ASSEMBLY, Hydraulic |
1 |
818161A4 |
|
| 2 |
818567 |
|
|
|
|
BRACKET |
1 |
|
|
| 3 |
10-38837 |
|
|
|
|
SCREW, (.312-18 x 1.12) |
1 |
|
|
| 4 |
12-57792 |
|
|
|
|
WASHER |
2 |
|
|
| 5 |
23-34948 |
|
|
|
|
SPACER |
1 |
|
|
| 6 |
84-65999A12 |
|
|
|
|
CABLE ASSEMBLY, Ground |
1 |
|
|
| 7 |
84-79138A9 |
|
|
|
|
CABLE ASSEMBLY, (6.00 Feet) Black-Negative |
1 |
|
|
| 8 |
10-92051 |
|
|
|
|
SCREW, (10-16 x .75) |
2 |
|
|
| 9 |
84-79147A5 |
|
|
|
|
HARNESS ASSEMBLY |
1 |
|
|
| 10 |
88-79091 |
|
|
|
|
FUSE, 20 Ampere |
1 |
|
|
| 11 |
88075 |
|
|
|
|
RETAINER |
1 |
|
|
| 12 |
89-853654A1 |
|
|
|
|
SOLENOID |
2 |
|
|
| 13 |
10-41508 |
|
|
|
|
SCREW, (.250-20 x .500) Stainless Steel |
4 |
|
|
| 14 |
11-20110 |
|
|
|
|
NUT, (#10-32) |
4 |
|
|
| 15 |
11-26484 |
|
|
|
|
NUT, (.312-18) |
4 |
|
|
| 16 |
88-79023T10 |
|
|
|
|
FUSE ASSEMBLY, 110 Ampere |
1 |
79023A10 |
|
| 17 |
12-96457 |
|
|
|
|
WASHER, Phenolic (.27 x .81 x .062) |
1 |
|
|
| 18 |
11-21825 |
|
|
|
|
NUT, (.250-28) |
1 |
11-22433 |
|
| 19 |
84-65999A11 |
|
|
|
|
CABLE ASSEMBLY |
1 |
|
|
| 20 |
84-79139A12 |
|
|
|
|
CABLE ASSEMBLY, Red-Positive |
1 |
|
|
| 21 |
46265 |
|
|
|
|
BOOT |
4 |
|
|
| 22 |
12-22753 |
|
|
|
|
WASHER |
4 |
|
|
| 23 |
84-79139A26 |
|
|
|
|
CABLE ASSEMBLY, Red |
1 |
|
|
| 24 |
87760T |
|
|
|
|
PLATE |
1 |
87760 |
|
| 25 |
10-39349 |
|
|
|
|
SCREW, (.312-18 x .750) Stainless Steel |
1 |
|
|
| 26 |
13-26993 |
|
|
|
|
LOCKWASHER, (.312) |
1 |
|
|
| 27 |
10-90271 |
|
|
|
|
SCREW, (.375-16 x .62) |
2 |
|
|
| 28 |
13-58643 |
|
|
|
|
LOCKWASHER, (.375) |
2 |
|
|
| 29 |
12-856774 |
|
|
|
|
WASHER, (.406 x .750 x .104) |
4 |
45175 |
|
| 30 |
87762 |
|
|
|
|
BRACKET |
1 |
|
|
| 31 |
10-63826 |
|
|
|
|
SCREW, (.375-16 x 2.50) |
2 |
|
|
| 32 |
11-82670912 |
|
|
|
|
NUT, (.375-16) |
2 |
68411 |
|
| 33 |
22-818200 |
|
|
|
|
FITTING |
1 |
|
|
| 34 |
22-77366 |
|
|
|
|
FITTING |
2 |
|
|
| 35 |
84-95084A18 |
|
|
|
|
CABLE ASSEMBLY, Fuse |
1 |
|
|
| 36 |
84-65017A14 |
|
|
|
|
HARNESS ASSEMBLY |
1 |
|
|
| 37 |
84-848017A2 |
|
|
|
|
HARNESS ASSEMBLY, Trim |
1 |
|
|